专利数据库
统计分析
产业报告
专利数据监控
产业人才
行业动态
产业政策法规
维权援助
个人中心
详情
文本
图像
标题
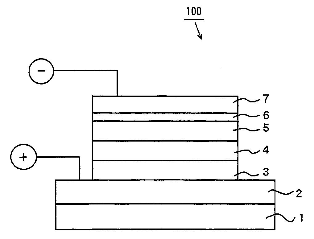
유기 전계 발광 소자, 발광 재료 및 유기 화합물
授权日
2008-12-09
公开(公告)号
KR100874290B1
申请日
2002-02-12
公开(公告)日
2008-12-18
当前申请(专利权)人
산요덴키가부시키가이샤
发明人
하마다,유지 | 마쯔수에,노리유끼
简单同族
EP1371708A1 | EP1371708A4 | JP3942544B2 | JPWO2002064700A1 | KR100874290B1 | KR1020020086950A | WO2002064700A1
简单同族成员数量
7
简单同族被引用专利总数
96
诉讼案件数
0
法律状态/事件
授权
抱歉,您的浏览器不支持PDF预览,请点击链接下载PDF文件