专利数据库
统计分析
产业报告
专利数据监控
产业人才
行业动态
产业政策法规
维权援助
个人中心
详情
文本
图像
标题
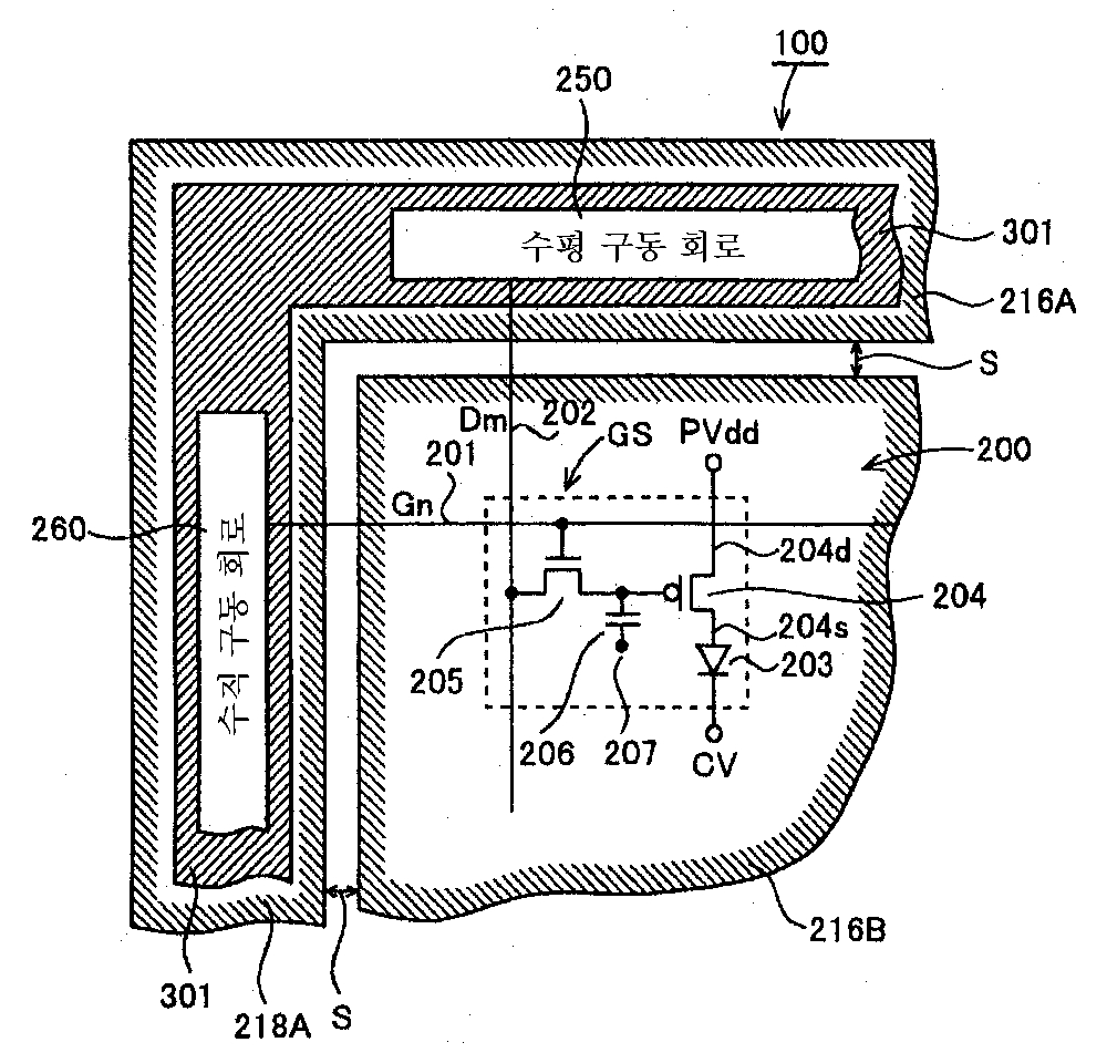
유기 EL 표시 장치
授权日
2006-03-31
公开(公告)号
KR100568630B1
申请日
2004-05-04
公开(公告)日
2006-04-07
当前申请(专利权)人
산요덴키가부시키가이샤
发明人
오무라데쯔지 | 니시까와류지
简单同族
CN100452419C | CN1551686A | JP2004335267A | JP4518747B2 | KR100568630B1 | KR1020040095660A | TW200425774A | TWI229570B | US20050023964A1 | US7053549
简单同族成员数量
10
简单同族被引用专利总数
100
诉讼案件数
0
法律状态/事件
授权
抱歉,您的浏览器不支持PDF预览,请点击链接下载PDF文件