专利数据库
统计分析
产业报告
专利数据监控
产业人才
行业动态
产业政策法规
维权援助
个人中心
详情
文本
图像
标题
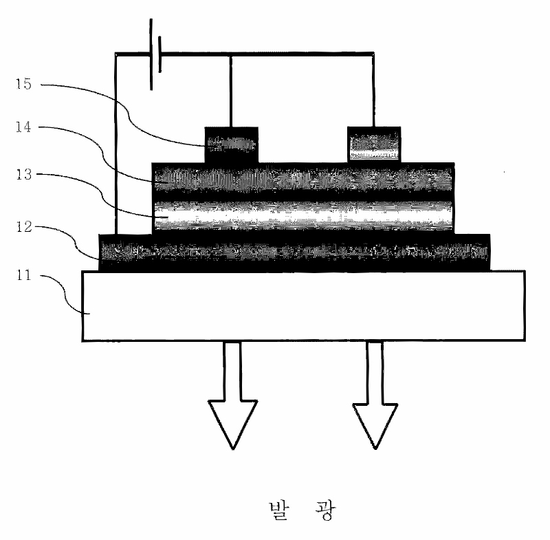
비스(10-히드록시벤조퀴놀리라토)베릴륨과비스(2-메틸-8-히드록시퀴놀리라토)베릴륨 혼합물을발
授权日
2003-11-07
公开(公告)号
KR100406463B1
申请日
2001-02-22
公开(公告)日
2003-11-19
当前申请(专利权)人
다우어드밴스드디스플레이머티리얼 유한회사
发明人
김성민 | 김봉옥 | 박노길 | 곽미영 | 심재훈 | 김영관 | 하윤경
简单同族
KR100406463B1 | KR1020020068713A
简单同族成员数量
2
简单同族被引用专利总数
0
诉讼案件数
0
法律状态/事件
未缴年费
抱歉,您的浏览器不支持PDF预览,请点击链接下载PDF文件