专利数据库
统计分析
产业报告
专利数据监控
产业人才
行业动态
产业政策法规
维权援助
个人中心
详情
文本
图像
标题
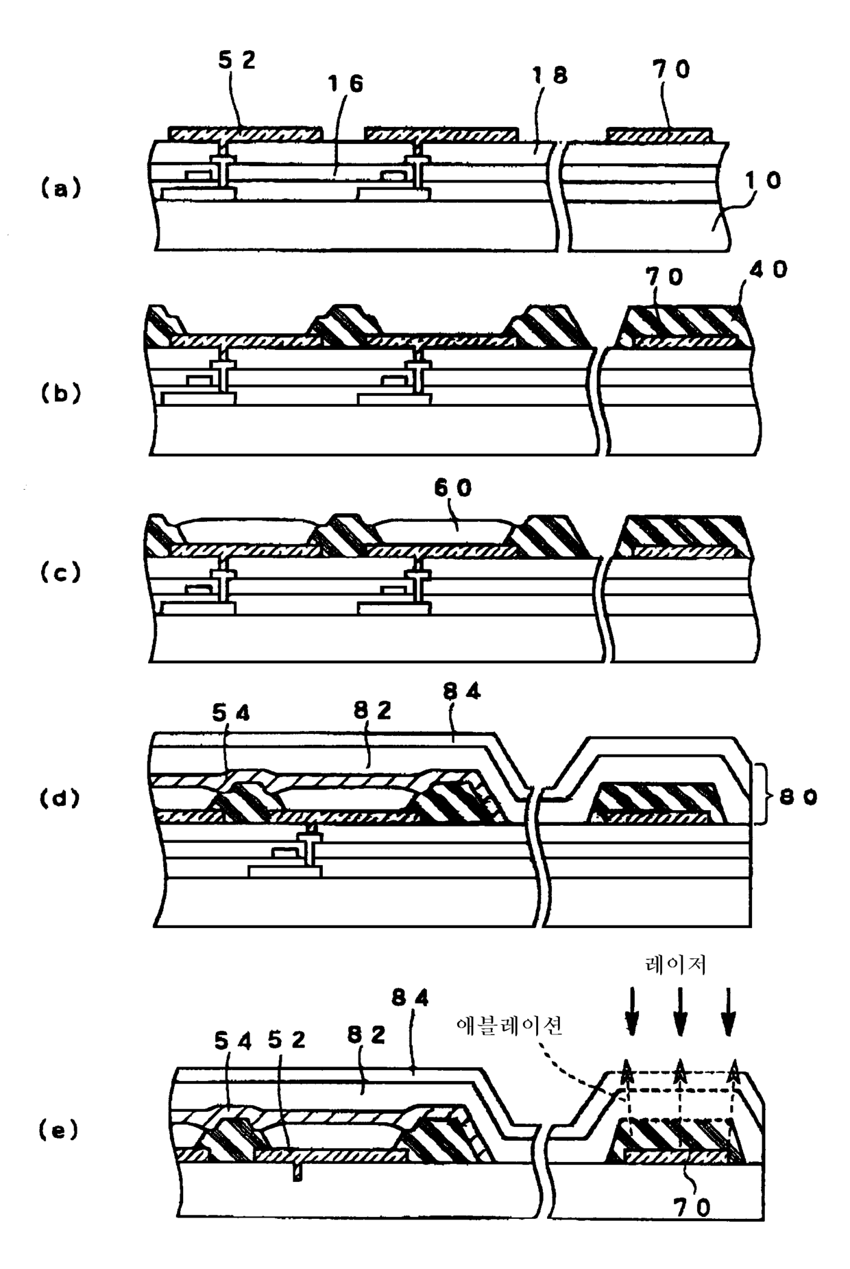
유기 전계 발광 패널의 제조 방법
授权日
2006-04-13
公开(公告)号
KR100572657B1
申请日
2003-11-13
公开(公告)日
2006-04-24
当前申请(专利权)人
산요덴키가부시키가이샤
发明人
NISHIKAWA,RYUJI
简单同族
CN1501750A | JP2004165068A | KR100572657B1 | KR1020040042861A | TW200414819A | TWI230563B | US20040137142A1
简单同族成员数量
7
简单同族被引用专利总数
99
诉讼案件数
0
法律状态/事件
放弃
抱歉,您的浏览器不支持PDF预览,请点击链接下载PDF文件