专利数据库
统计分析
产业报告
专利数据监控
产业人才
行业动态
产业政策法规
维权援助
个人中心
详情
文本
图像
标题
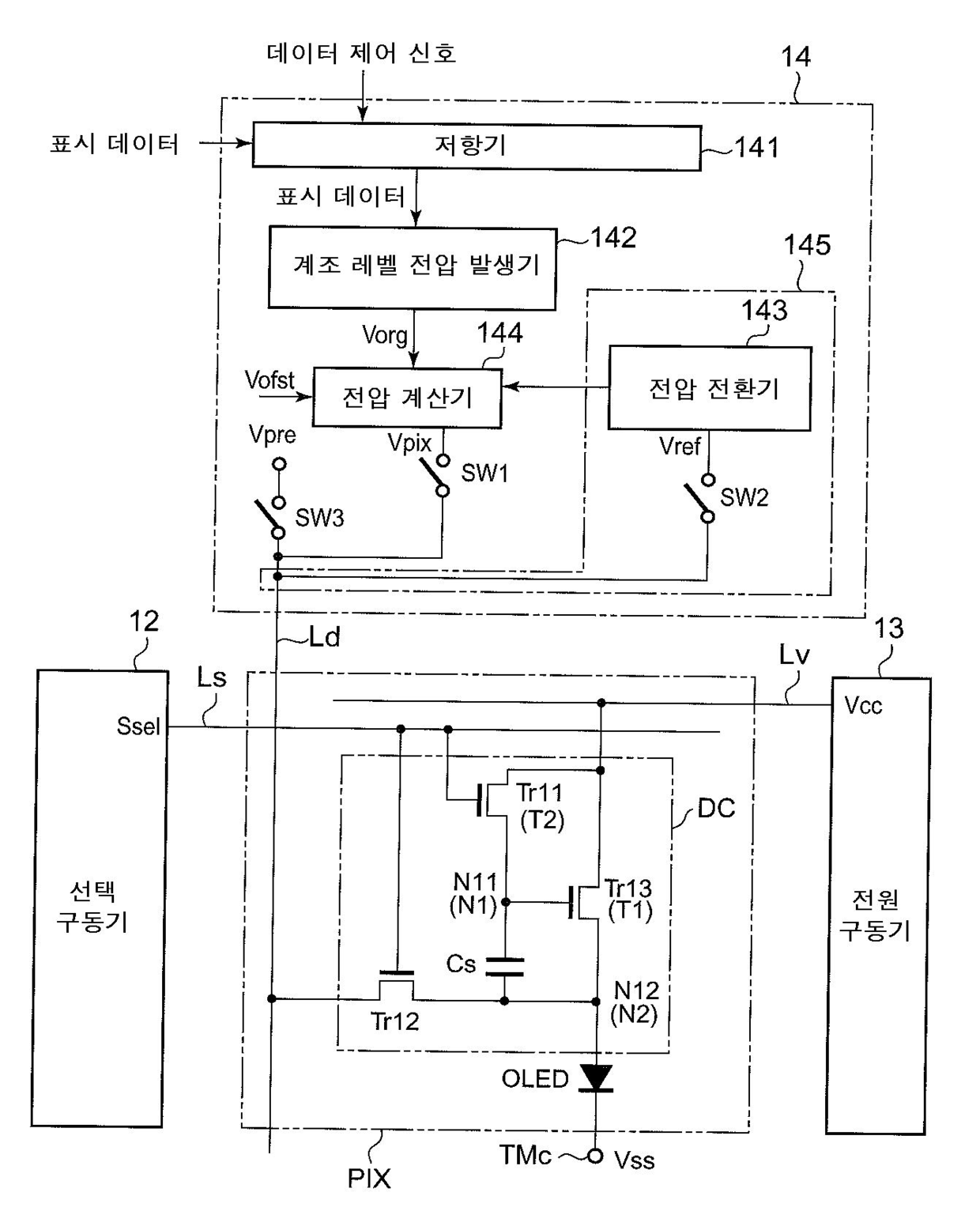
표시 구동 장치 및 표시 구동 장치를 구동하는 방법, 그리고 표시 장치 및 표시 장치를 구동하는 방법
授权日
1900-01-01
公开(公告)号
KR1020080106191A
申请日
2007-09-25
公开(公告)日
2008-12-04
当前申请(专利权)人
가시오게산키 가부시키가이샤
发明人
오구라쥰
简单同族
CN101421772A | CN101421772B | EP2067135A1 | EP2067135B1 | EP3462435A1 | HK1128985A | JP2008107772A | JP5240542B2 | KR101039218B1 | KR1020080106191A | TW200826044A | TWI384448B | US20080074362A1 | US7701421 | WO2008038819A1
简单同族成员数量
15
简单同族被引用专利总数
77
诉讼案件数
0
法律状态/事件
授权 | 权利转移
抱歉,您的浏览器不支持PDF预览,请点击链接下载PDF文件