专利数据库
统计分析
产业报告
专利数据监控
产业人才
行业动态
产业政策法规
维权援助
个人中心
详情
文本
图像
标题
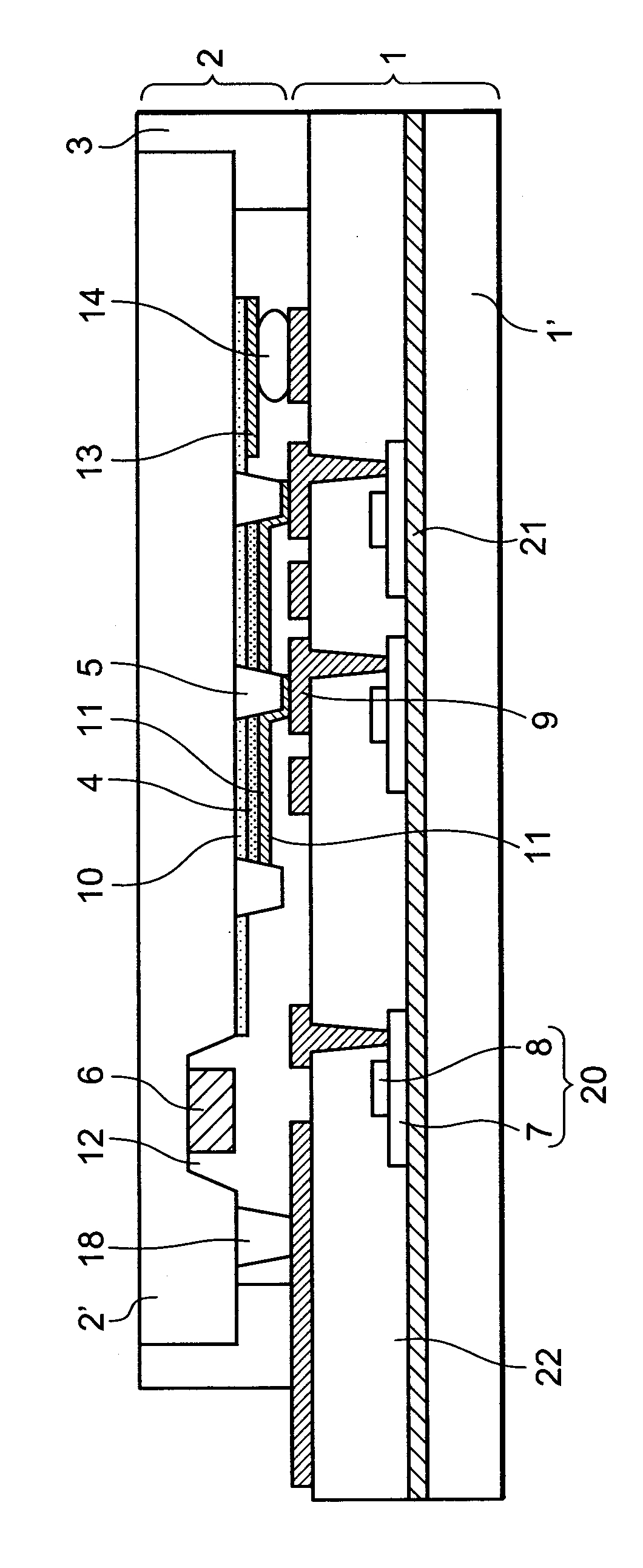
유기 이엘 표시 장치
授权日
2007-04-06
公开(公告)号
KR100707544B1
申请日
2004-05-14
公开(公告)日
2007-04-13
当前申请(专利权)人
닛본 덴끼 가부시끼가이샤
发明人
IMURA,HIRONORI
简单同族
CN100514699C | CN1551695A | JP2004342432A | KR100707544B1 | KR1020040098593A | US20040227459A1 | US7057340
简单同族成员数量
7
简单同族被引用专利总数
74
诉讼案件数
0
法律状态/事件
未缴年费 | 权利转移
抱歉,您的浏览器不支持PDF预览,请点击链接下载PDF文件