专利数据库
统计分析
产业报告
专利数据监控
产业人才
行业动态
产业政策法规
维权援助
个人中心
详情
文本
图像
标题
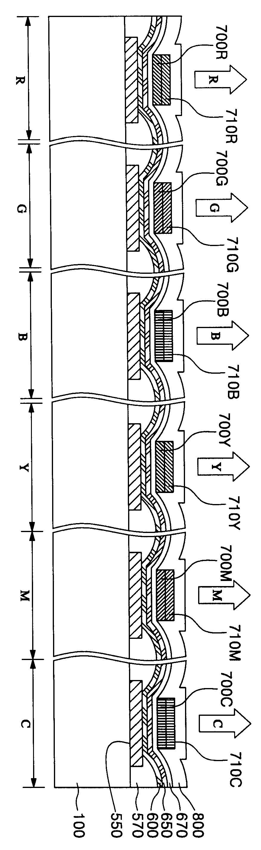
레드, 그린, 블루, 시안, 마젠타 및 옐로우칼라조절층들을 갖는 풀칼라 유기전계발광표시장치
授权日
1900-01-01
公开(公告)号
KR1020060034162A
申请日
2004-10-18
公开(公告)日
2006-04-21
当前申请(专利权)人
삼성에스디아이 주식회사
发明人
진병두 | 서민철 | 김무현 | 김혜동
简单同族
KR100685407B1 | KR1020060034162A | US20060082295A1 | US7375464
简单同族成员数量
4
简单同族被引用专利总数
76
诉讼案件数
0
法律状态/事件
授权 | 权利转移
抱歉,您的浏览器不支持PDF预览,请点击链接下载PDF文件