专利数据库
统计分析
产业报告
专利数据监控
产业人才
行业动态
产业政策法规
维权援助
个人中心
详情
文本
图像
标题
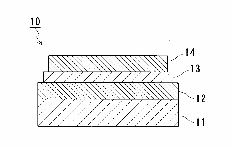
유기발광소자재료 및 이를 이용한 발광소자
授权日
1900-01-01
公开(公告)号
KR1020000057931A
申请日
2000-02-03
公开(公告)日
2000-09-25
当前申请(专利权)人
파나소닉 주식회사
发明人
마츠오미키코 | 기시모토요시오 | 사토테츠야 | 히사다히토시 | 스기우라히사노리
简单同族
DE60000455D1 | DE60000455T2 | EP1026222A2 | EP1026222A3 | EP1026222B1 | KR100360204B1 | KR1020000057931A | US6391482
简单同族成员数量
8
简单同族被引用专利总数
64
诉讼案件数
0
法律状态/事件
未缴年费 | 权利转移
抱歉,您的浏览器不支持PDF预览,请点击链接下载PDF文件