专利数据库
统计分析
产业报告
专利数据监控
产业人才
行业动态
产业政策法规
维权援助
个人中心
详情
文本
图像
标题
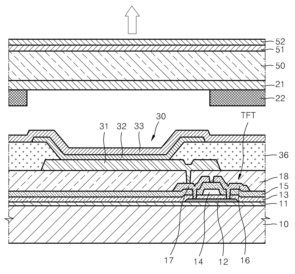
유기 발광 표시 장치
授权日
2008-05-08
公开(公告)号
KR100829750B1
申请日
2006-12-06
公开(公告)日
2008-05-15
当前申请(专利权)人
삼성에스디아이 주식회사
发明人
이병덕 | 이종혁 | 조윤형 | 오민호 | 이소영 | 이선영 | 김원종 | 김용탁 | 최진백
简单同族
CN101197390A | CN101197390B | EP1930968A2 | EP1930968A3 | EP1930968B1 | JP2008147161A | JP4558763B2 | KR100829750B1 | US20080138657A1 | US8022616
简单同族成员数量
10
简单同族被引用专利总数
53
诉讼案件数
0
法律状态/事件
授权 | 权利转移
抱歉,您的浏览器不支持PDF预览,请点击链接下载PDF文件