专利数据库
统计分析
产业报告
专利数据监控
产业人才
行业动态
产业政策法规
维权援助
个人中心
详情
文本
图像
标题
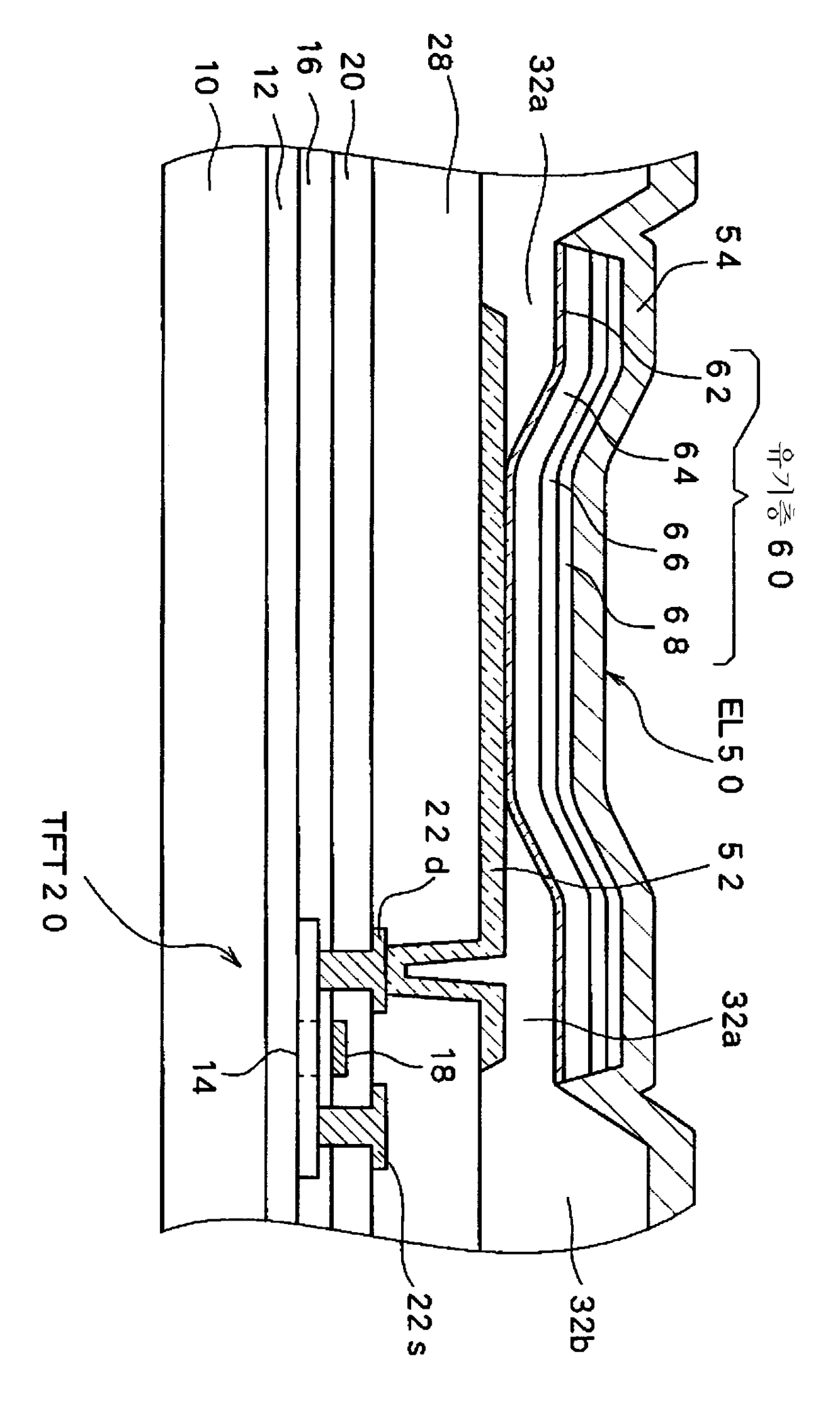
유기 전계 발광 패널
授权日
2006-02-09
公开(公告)号
KR100552872B1
申请日
2003-11-13
公开(公告)日
2006-02-20
当前申请(专利权)人
산요덴키가부시키가이샤
发明人
NISHIKAWA,RYUJI
简单同族
CN1512825A | JP2004165067A | KR100552872B1 | KR1020040042855A | TW200420187A | TWI232068B | US20040135501A1
简单同族成员数量
7
简单同族被引用专利总数
84
诉讼案件数
0
法律状态/事件
授权
抱歉,您的浏览器不支持PDF预览,请点击链接下载PDF文件