专利数据库
统计分析
产业报告
专利数据监控
产业人才
行业动态
产业政策法规
维权援助
个人中心
详情
文本
图像
标题
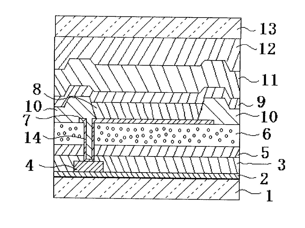
유기 EL 표시장치
授权日
1900-01-01
公开(公告)号
KR1020100089753A
申请日
2010-01-25
公开(公告)日
2010-08-12
当前申请(专利权)人
유디씨 아일랜드 리미티드
发明人
모리히로유키 | 호소다히데마사 | 히키타마사노리
简单同族
CN101800241A | CN101800241B | EP2214223A2 | EP2214223A3 | JP2010182449A | KR101931853B1 | KR1020100089753A | KR1020160021435A | US20100194717A1 | US8890402
简单同族成员数量
10
简单同族被引用专利总数
91
诉讼案件数
0
法律状态/事件
驳回
抱歉,您的浏览器不支持PDF预览,请点击链接下载PDF文件