专利数据库
统计分析
产业报告
专利数据监控
产业人才
行业动态
产业政策法规
维权援助
个人中心
详情
文本
图像
标题
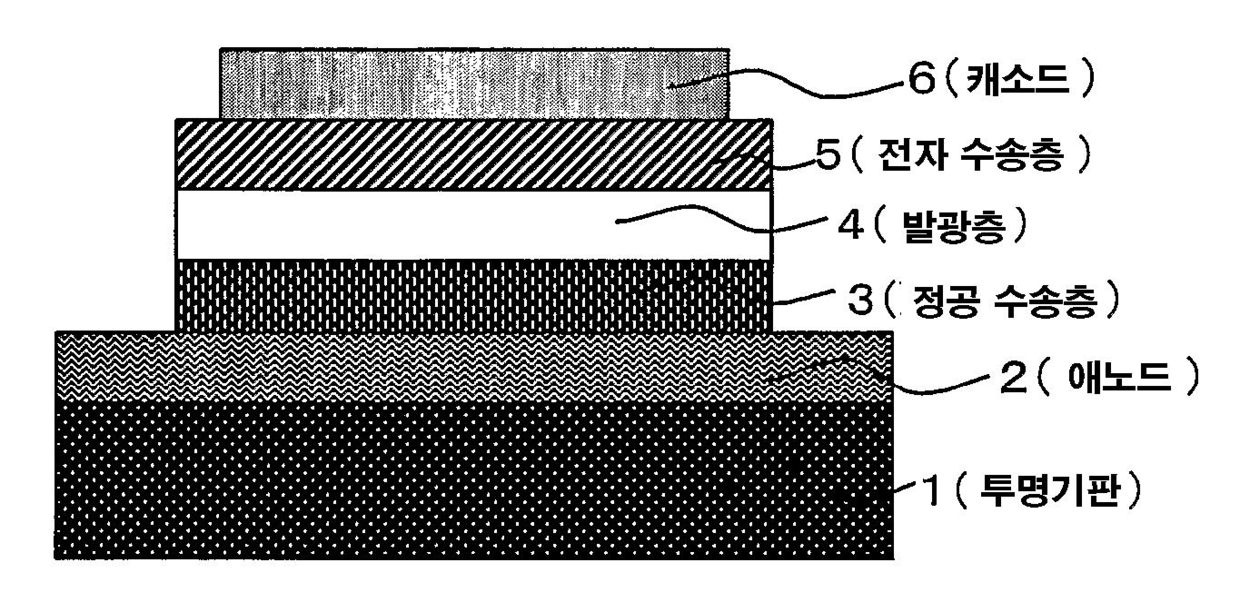
고분자 발광재료 및 유기 발광소자
授权日
1900-01-01
公开(公告)号
KR1020070033341A
申请日
2005-05-18
公开(公告)日
2007-03-26
当前申请(专利权)人
쇼와 덴코 가부시키가이샤
发明人
타카하시요시아키 | 카토츠요시 | 사코칸지로
简单同族
AT517163T | EP1753839A1 | EP1753839B1 | JP2006008996A | JP5008835B2 | KR101112012B1 | KR1020070033341A | TW200613514A | US20080050604A1 | WO2006001150A1
简单同族成员数量
10
简单同族被引用专利总数
96
诉讼案件数
0
法律状态/事件
授权 | 权利转移
抱歉,您的浏览器不支持PDF预览,请点击链接下载PDF文件