专利数据库
统计分析
产业报告
专利数据监控
产业人才
行业动态
产业政策法规
维权援助
个人中心
详情
文本
图像
标题
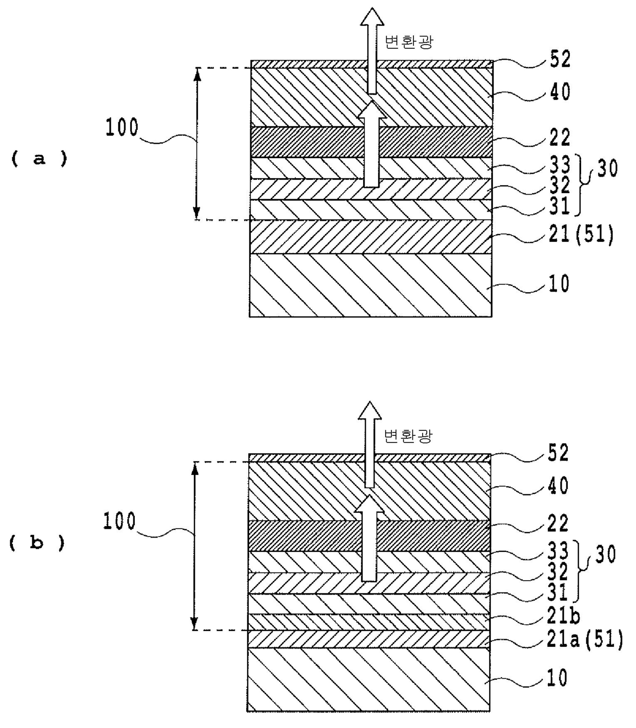
미소공진기 색변환 EL소자 및 이것을 이용한 유기 EL디스플레이
授权日
1900-01-01
公开(公告)号
KR1020090092698A
申请日
2009-02-04
公开(公告)日
2009-09-01
当前申请(专利权)人
샤프 가부시키가이샤
发明人
TERAO, YUTAKA
简单同族
CN101521263A | DE102009010646A1 | JP2009205928A | KR101380869B1 | KR1020090092698A | TW200950579A | US20090212696A1 | US7863808
简单同族成员数量
8
简单同族被引用专利总数
75
诉讼案件数
0
法律状态/事件
授权 | 权利转移
抱歉,您的浏览器不支持PDF预览,请点击链接下载PDF文件