专利数据库
统计分析
产业报告
专利数据监控
产业人才
行业动态
产业政策法规
维权援助
个人中心
详情
文本
图像
标题
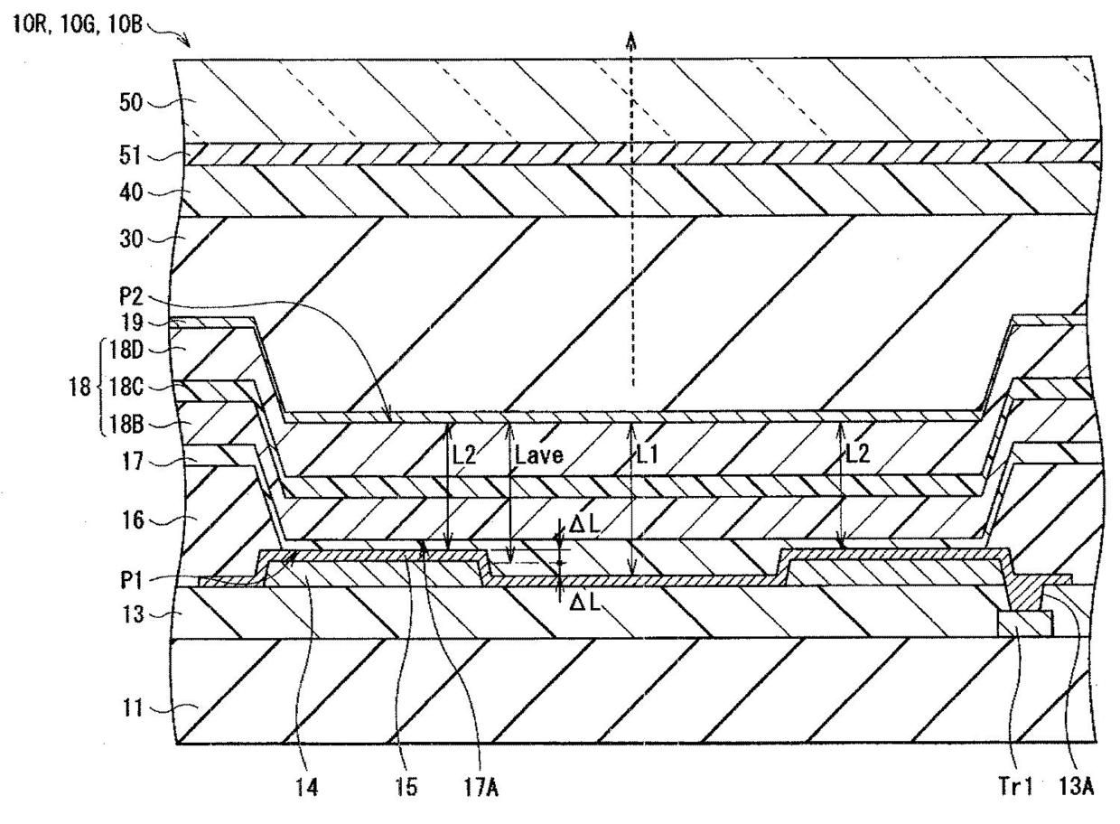
표시 소자 및 표시 장치
授权日
1900-01-01
公开(公告)号
KR1020070079946A
申请日
2007-02-05
公开(公告)日
2007-08-08
当前申请(专利权)人
소니 주식회사
发明人
아사끼레오 | 후지오까히로후미 | 히로마스야스노부
简单同族
CN101013745A | CN101013745B | JP2007234581A | JP4645587B2 | KR101376427B1 | KR1020070079946A | TW200746878A | TWI376976B | US20080143649A1 | US20100265223A1 | US8368617 | US8462084
简单同族成员数量
12
简单同族被引用专利总数
105
诉讼案件数
0
法律状态/事件
授权
抱歉,您的浏览器不支持PDF预览,请点击链接下载PDF文件