专利数据库
统计分析
产业报告
专利数据监控
产业人才
行业动态
产业政策法规
维权援助
个人中心
详情
文本
图像
标题
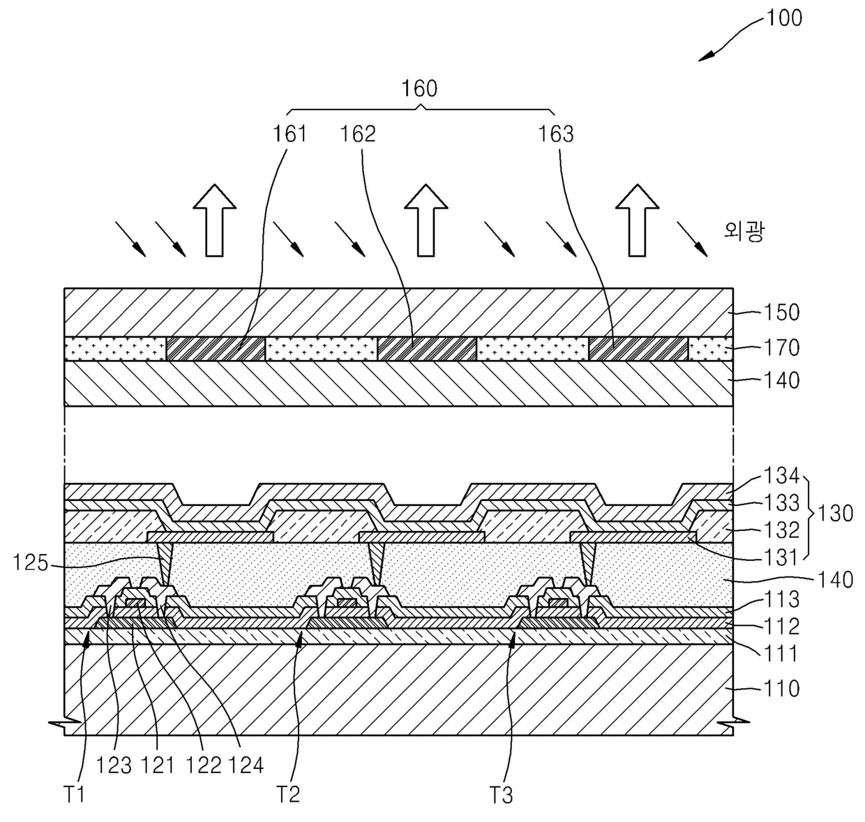
발명의 명칭 유기 발광 디스플레이 장치
授权日
2014-03-03
公开(公告)号
KR101372851B1
申请日
2008-07-11
公开(公告)日
2014-03-12
当前申请(专利权)人
삼성디스플레이 주식회사
发明人
SUH, MIN CHUL
简单同族
KR101372851B1 | KR1020100007265A | US20100007270A1 | US8174179
简单同族成员数量
4
简单同族被引用专利总数
53
诉讼案件数
0
法律状态/事件
授权
抱歉,您的浏览器不支持PDF预览,请点击链接下载PDF文件