专利数据库
统计分析
产业报告
专利数据监控
产业人才
行业动态
产业政策法规
维权援助
个人中心
详情
文本
图像
标题
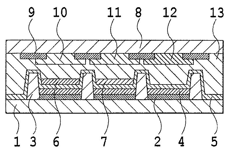
색변환 방식 유기EL 디스플레이
授权日
1900-01-01
公开(公告)号
KR1020100114101A
申请日
2009-07-23
公开(公告)日
2010-10-22
当前申请(专利权)人
샤프 가부시키가이샤
发明人
카와무라,유키노리
简单同族
CN101960917A | CN101960917B | JP2010033905A | JP5214360B2 | KR101266345B1 | KR1020100114101A | TW201014443A | TWI481298B | US20110062859A1 | US8044575 | WO2010013637A1
简单同族成员数量
11
简单同族被引用专利总数
50
诉讼案件数
0
法律状态/事件
授权
抱歉,您的浏览器不支持PDF预览,请点击链接下载PDF文件