专利数据库
统计分析
产业报告
专利数据监控
产业人才
行业动态
产业政策法规
维权援助
个人中心
详情
文本
图像
标题
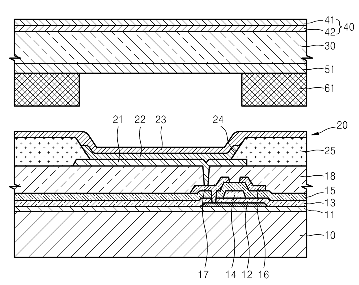
유기 발광 디스플레이장치
授权日
2008-05-08
公开(公告)号
KR100829753B1
申请日
2007-03-02
公开(公告)日
2008-05-15
当前申请(专利权)人
삼성에스디아이 주식회사
发明人
조윤형 | 이종혁 | 오민호 | 이병덕 | 이소영 | 이선영 | 김원종 | 김용탁 | 최진백
简单同族
CN101257747A | CN101257747B | EP1965429A2 | EP1965429A3 | EP1965429B1 | JP2008218377A | JP4588740B2 | KR100829753B1 | US20080218064A1 | US20110156015A1 | US7923923 | US8237356
简单同族成员数量
12
简单同族被引用专利总数
59
诉讼案件数
0
法律状态/事件
授权 | 权利转移
抱歉,您的浏览器不支持PDF预览,请点击链接下载PDF文件