专利数据库
统计分析
产业报告
专利数据监控
产业人才
行业动态
产业政策法规
维权援助
个人中心
详情
文本
图像
标题
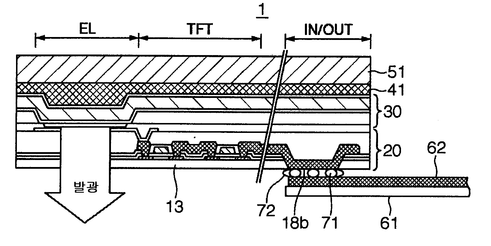
유기 EL 표시 장치, 전자 기기 및 그 제조 방법
授权日
1900-01-01
公开(公告)号
KR1020040100913A
申请日
2004-05-12
公开(公告)日
2004-12-02
当前申请(专利权)人
세이코 엡슨 가부시키가이샤
发明人
우츠노미야스미오 | 가마쿠라도모유키
简单同族
CN100446268C | CN1575049A | EP1480272A2 | EP1480272A3 | JP2004349152A | JP3897173B2 | KR100627097B1 | KR1020040100913A | TW200427362A | TWI255151B | US20040245924A1 | US7342354
简单同族成员数量
12
简单同族被引用专利总数
86
诉讼案件数
0
法律状态/事件
放弃
抱歉,您的浏览器不支持PDF预览,请点击链接下载PDF文件