专利数据库
统计分析
产业报告
专利数据监控
产业人才
行业动态
产业政策法规
维权援助
个人中心
详情
文本
图像
标题
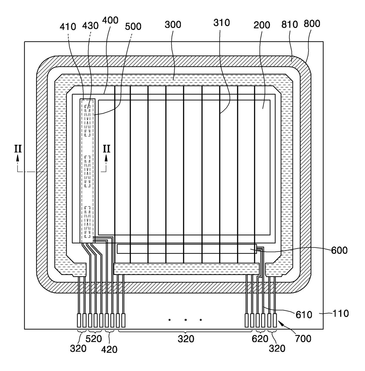
전계 발광 디스플레이 장치
授权日
2006-05-15
公开(公告)号
KR100581903B1
申请日
2004-03-09
公开(公告)日
2006-05-22
当前申请(专利权)人
삼성에스디아이 주식회사
发明人
곽원규 | 이관희
简单同族
CN1668152A | CN1668152B | EP1575090A2 | EP1575090A3 | EP1575090B1 | JP2005258395A | JP3940738B2 | KR100581903B1 | KR1020050090586A | US20050200270A1 | US20110298391A1 | US8026667 | US8247968
简单同族成员数量
13
简单同族被引用专利总数
97
诉讼案件数
0
法律状态/事件
授权 | 权利转移
抱歉,您的浏览器不支持PDF预览,请点击链接下载PDF文件