专利数据库
统计分析
产业报告
专利数据监控
产业人才
行业动态
产业政策法规
维权援助
个人中心
详情
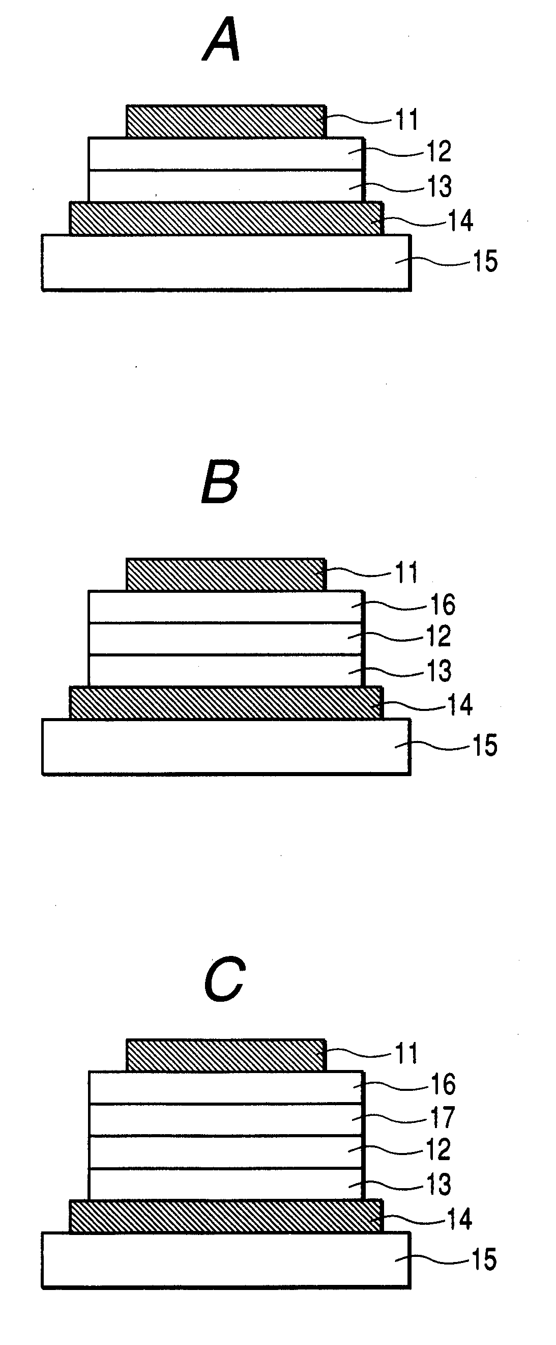
文本
图像
标题
유기발광소자 및 표시장치
授权日
1900-01-01
公开(公告)号
KR1020050005527A
申请日
2003-05-21
公开(公告)日
2005-01-13
当前申请(专利权)人
캐논 가부시끼가이샤
发明人
모리야마다카시 | 오카다신지로 | 쓰보야마아키라 | 다키구치다카오 | 미우라세이시 | 이가와사토시 | 가마타니준 | 이와와키히로노부
简单同族
AT464772T | AU2003241171A1 | CN100364136C | CN1509586A | DE60332074D1 | EP1400152A1 | EP1400152A4 | EP1400152B1 | JP2004014155A | JP3902981B2 | KR100632920B1 | KR1020050005527A | US20040169461A1 | US20070085473A1 | US20090091589A1 | US7189466 | US7510783 | US7629062 | WO2003103341A1
简单同族成员数量
19
简单同族被引用专利总数
147
诉讼案件数
0
法律状态/事件
授权
抱歉,您的浏览器不支持PDF预览,请点击链接下载PDF文件