专利数据库
统计分析
产业报告
专利数据监控
产业人才
行业动态
产业政策法规
维权援助
个人中心
详情
文本
图像
标题
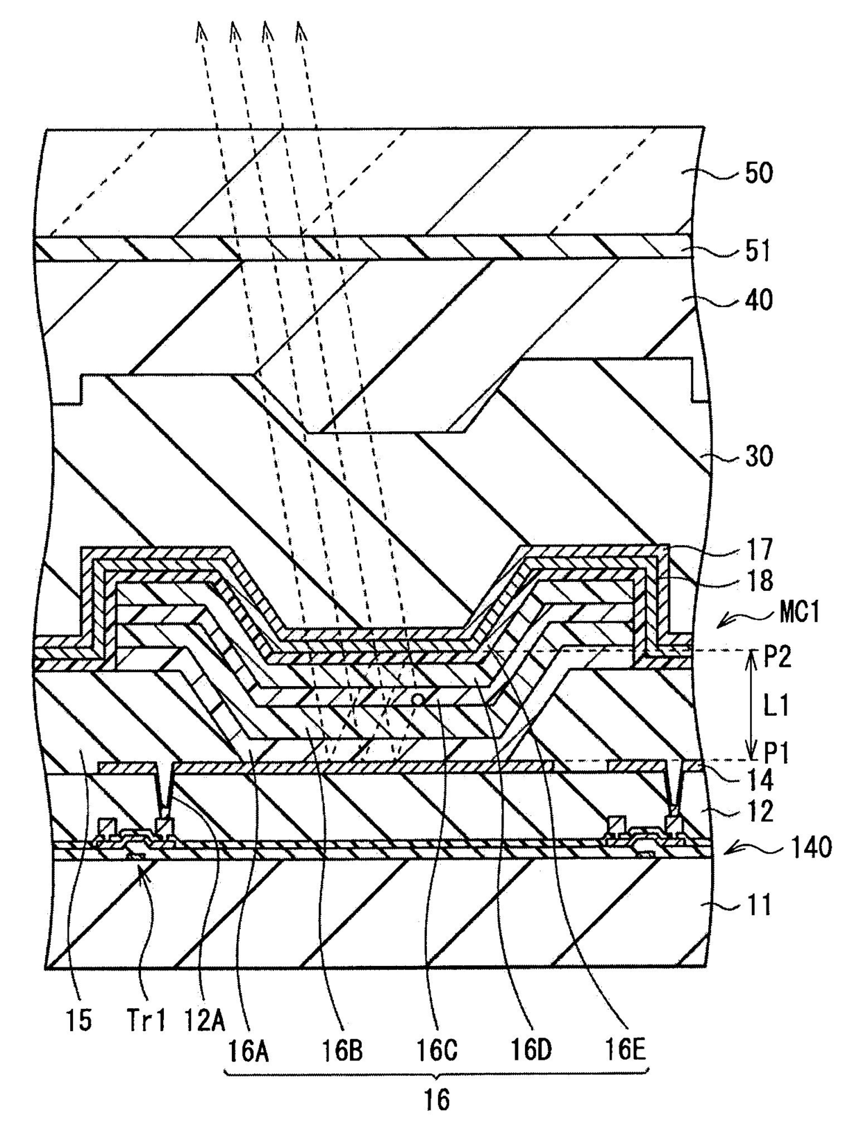
유기 일렉트로루미네센스 소자, 이것을 구비한 표시 장치, 및 유기 일렉트로루미네센스 소자의 제조 방법
授权日
1900-01-01
公开(公告)号
KR1020100138773A
申请日
2010-06-18
公开(公告)日
2010-12-31
当前申请(专利权)人
소니 주식회사
发明人
KASHIWABARA, MITSUHIRO
简单同族
CN101931057A | CN101931057B | JP2011008958A | JP2011008958A5 | JP5453952B2 | KR1020100138773A | TW201108855A | TWI448195B | US20100320481A1 | US20130200347A1 | US20150048355A1 | US8415658 | US8916861
简单同族成员数量
13
简单同族被引用专利总数
48
诉讼案件数
0
法律状态/事件
撤回
抱歉,您的浏览器不支持PDF预览,请点击链接下载PDF文件