专利数据库
统计分析
产业报告
专利数据监控
产业人才
行业动态
产业政策法规
维权援助
个人中心
详情
文本
图像
标题
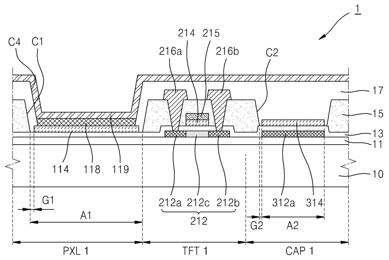
발명의 명칭 유기 발광 표시 장치 및 그 제조 방법
授权日
2014-03-03
公开(公告)号
KR101372852B1
申请日
2010-10-05
公开(公告)日
2014-03-10
当前申请(专利权)人
삼성디스플레이 주식회사
发明人
이율규 | 유춘기 | 박선 | 박종현 | 김대우
简单同族
CN102447074A | CN102447074B | KR101372852B1 | KR1020120035419A | TW201227949A | TWI555188B | US20120080663A1 | US8378352
简单同族成员数量
8
简单同族被引用专利总数
47
诉讼案件数
0
法律状态/事件
授权 | 复审
抱歉,您的浏览器不支持PDF预览,请点击链接下载PDF文件