专利数据库
统计分析
产业报告
专利数据监控
产业人才
行业动态
产业政策法规
维权援助
个人中心
详情
文本
图像
标题
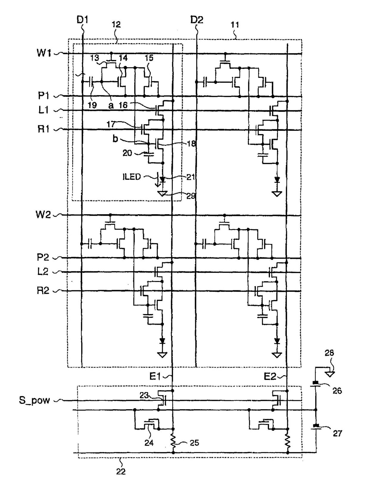
화상표시장치
授权日
1900-01-01
公开(公告)号
KR1020030089419A
申请日
2003-03-28
公开(公告)日
2003-11-21
当前申请(专利权)人
가부시키가이샤 재팬 디스프레이
发明人
카게야마히로시 | 아키모토하지메
简单同族
JP2003330416A | JP4089289B2 | KR101005646B1 | KR1020030089419A | TW200402682A | TWI358706B | US20030214522A1 | US7145532
简单同族成员数量
8
简单同族被引用专利总数
72
诉讼案件数
0
法律状态/事件
授权 | 权利转移
抱歉,您的浏览器不支持PDF预览,请点击链接下载PDF文件