专利数据库
统计分析
产业报告
专利数据监控
产业人才
行业动态
产业政策法规
维权援助
个人中心
详情
文本
图像
标题
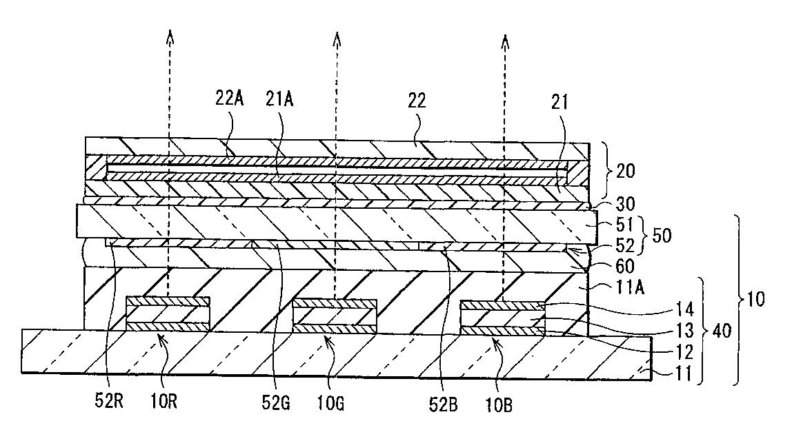
표시 장치 및 그의 제조 방법
授权日
1900-01-01
公开(公告)号
KR1020040030345A
申请日
2003-10-01
公开(公告)日
2004-04-09
当前申请(专利权)人
소니 주식회사
发明人
IWASE,YUICHI
简单同族
CN100350360C | CN1497419A | KR100971053B1 | KR1020040030345A | SG121800A1 | TW200417274A | TWI284003B | US10571965 | US20040124765A1 | US20070160777A1 | US20140285738A1 | US20150085211A1 | US20170269635A1 | US20200150722A1 | US7936338 | US8808477 | US9720448
简单同族成员数量
17
简单同族被引用专利总数
97
诉讼案件数
0
法律状态/事件
授权 | 权利转移
抱歉,您的浏览器不支持PDF预览,请点击链接下载PDF文件