专利数据库
统计分析
产业报告
专利数据监控
产业人才
行业动态
产业政策法规
维权援助
个人中心
详情
文本
图像
标题
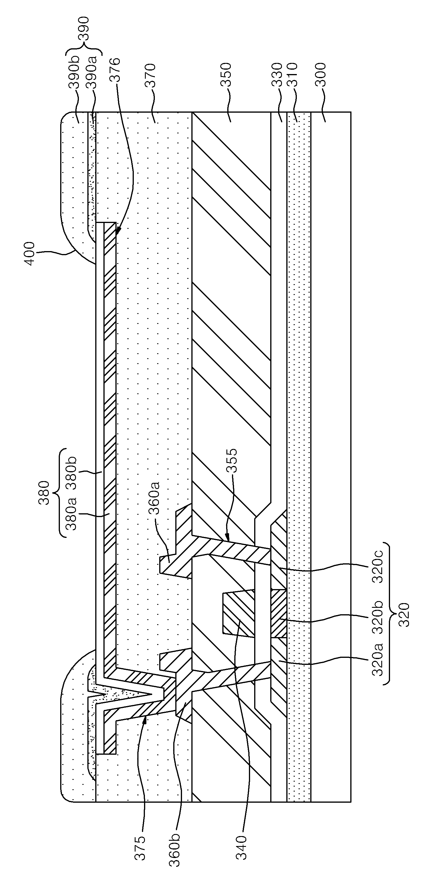
유기전계발광표시장치 및 그 제조방법
授权日
1900-01-01
公开(公告)号
KR1020070096702A
申请日
2006-03-27
公开(公告)日
2007-10-02
当前申请(专利权)人
삼성에스디아이 주식회사
发明人
임충열 | 유경진 | 전우식 | 권도현 | 강태욱
简单同族
CN101114668A | CN101114668B | DE602007001818D1 | EP1840984A1 | EP1840984B1 | JP2007265972A | JP4745266B2 | KR100782458B1 | KR1020070096702A | US20070257253A1 | US8415675
简单同族成员数量
11
简单同族被引用专利总数
47
诉讼案件数
0
法律状态/事件
授权 | 权利转移
抱歉,您的浏览器不支持PDF预览,请点击链接下载PDF文件