专利数据库
统计分析
产业报告
专利数据监控
产业人才
行业动态
产业政策法规
维权援助
个人中心
详情
文本
图像
标题
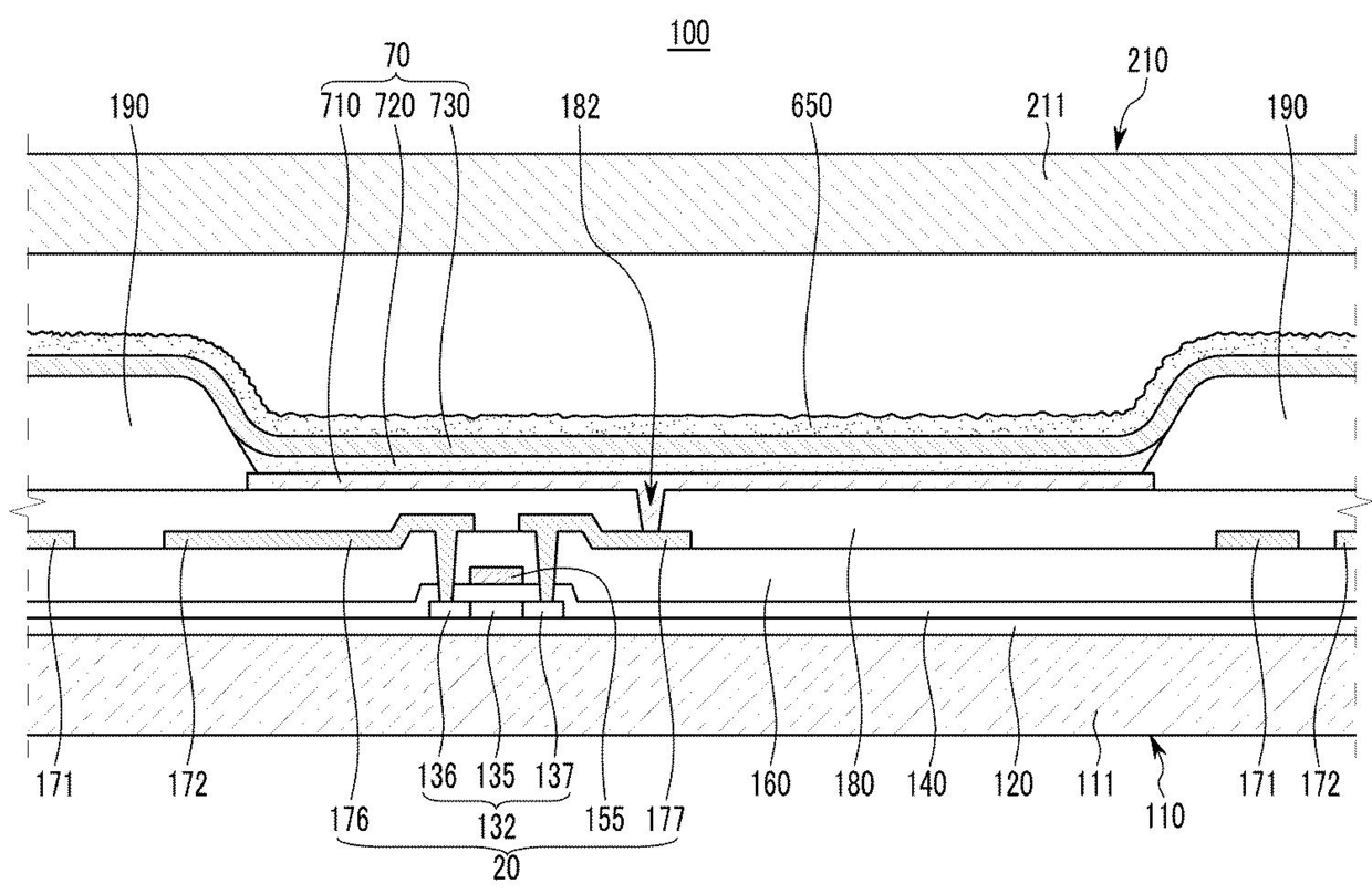
유기 발광 표시 장치
授权日
1900-01-01
公开(公告)号
KR1020100090997A
申请日
2009-02-09
公开(公告)日
2010-08-18
当前申请(专利权)人
삼성모바일디스플레이주식회사
发明人
정희성 | 전희철 | 정우석 | 정철우 | 곽노민 | 김은아 | 박순룡 | 이주화
简单同族
CN101853877A | EP2216840A2 | EP2216840A3 | EP2216840B1 | JP2010182667A | JP2012054245A | KR101147428B1 | KR1020100090997A | US20100200845A1 | US8809838
简单同族成员数量
10
简单同族被引用专利总数
55
诉讼案件数
0
法律状态/事件
授权 | 权利转移
抱歉,您的浏览器不支持PDF预览,请点击链接下载PDF文件