专利数据库
统计分析
产业报告
专利数据监控
产业人才
行业动态
产业政策法规
维权援助
个人中心
详情
文本
图像
标题
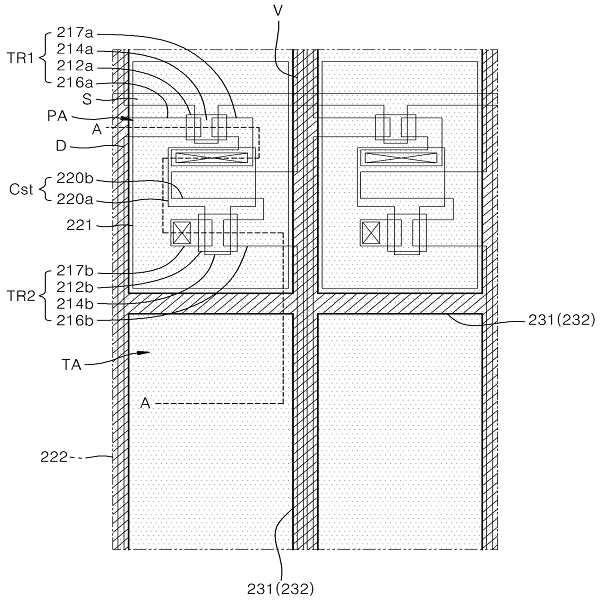
발명의 명칭 유기 발광 표시 장치
授权日
2012-10-15
公开(公告)号
KR101193195B1
申请日
2010-07-02
公开(公告)日
2012-10-19
当前申请(专利权)人
삼성디스플레이 주식회사
发明人
하재흥 | 황규환 | 윤석규 | 송영우 | 이종혁 | 김금남 | 황영인
简单同族
JP2012015092A | JP5933928B2 | KR101193195B1 | KR1020120003165A | US20120001184A1 | US8569762
简单同族成员数量
6
简单同族被引用专利总数
159
诉讼案件数
0
法律状态/事件
授权
抱歉,您的浏览器不支持PDF预览,请点击链接下载PDF文件