专利数据库
统计分析
产业报告
专利数据监控
产业人才
行业动态
产业政策法规
维权援助
个人中心
详情
文本
图像
标题
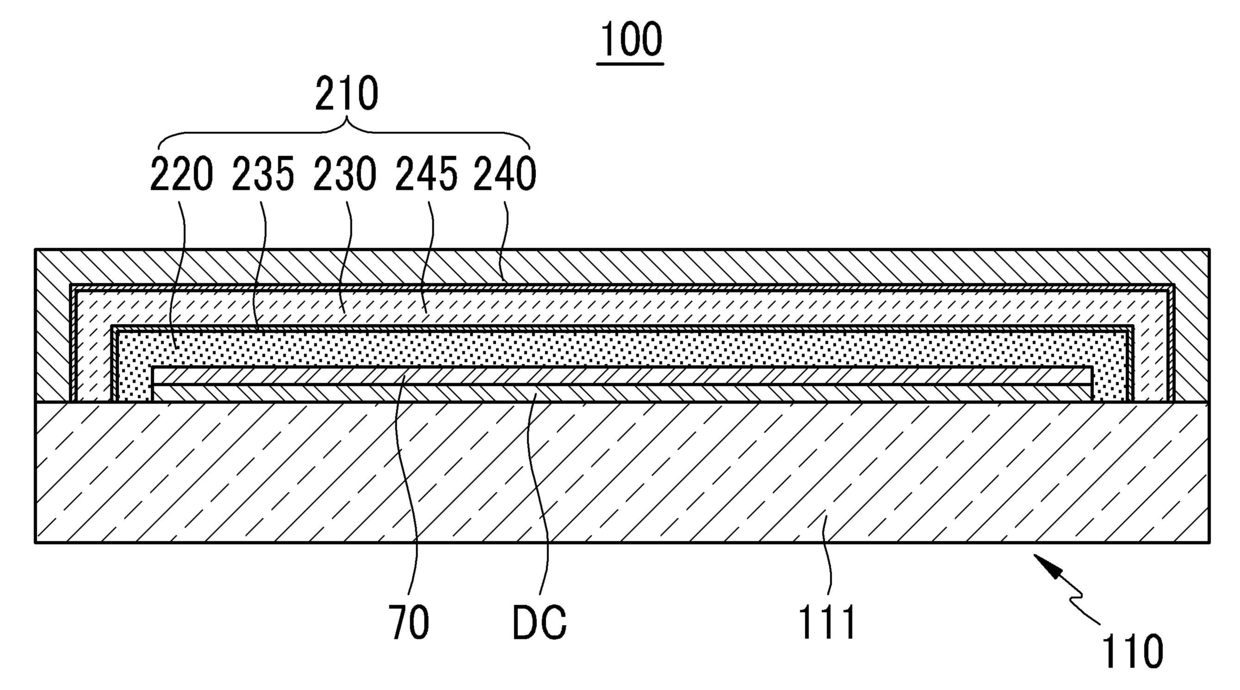
유기 발광 표시 장치 및 그 제조 방법
授权日
2011-11-10
公开(公告)号
KR101084267B1
申请日
2009-02-26
公开(公告)日
2011-11-16
当前申请(专利权)人
삼성모바일디스플레이주식회사
发明人
서상준 | 남기현
简单同族
CN101859792A | CN101859792B | DE102010002422A1 | JP2010199060A | KR101084267B1 | KR1020100097514A | TW201032667A | TWI424780B | US20100215929A1 | US8900723
简单同族成员数量
10
简单同族被引用专利总数
49
诉讼案件数
0
法律状态/事件
授权 | 权利转移
抱歉,您的浏览器不支持PDF预览,请点击链接下载PDF文件