专利数据库
统计分析
产业报告
专利数据监控
产业人才
行业动态
产业政策法规
维权援助
个人中心
详情
文本
图像
标题
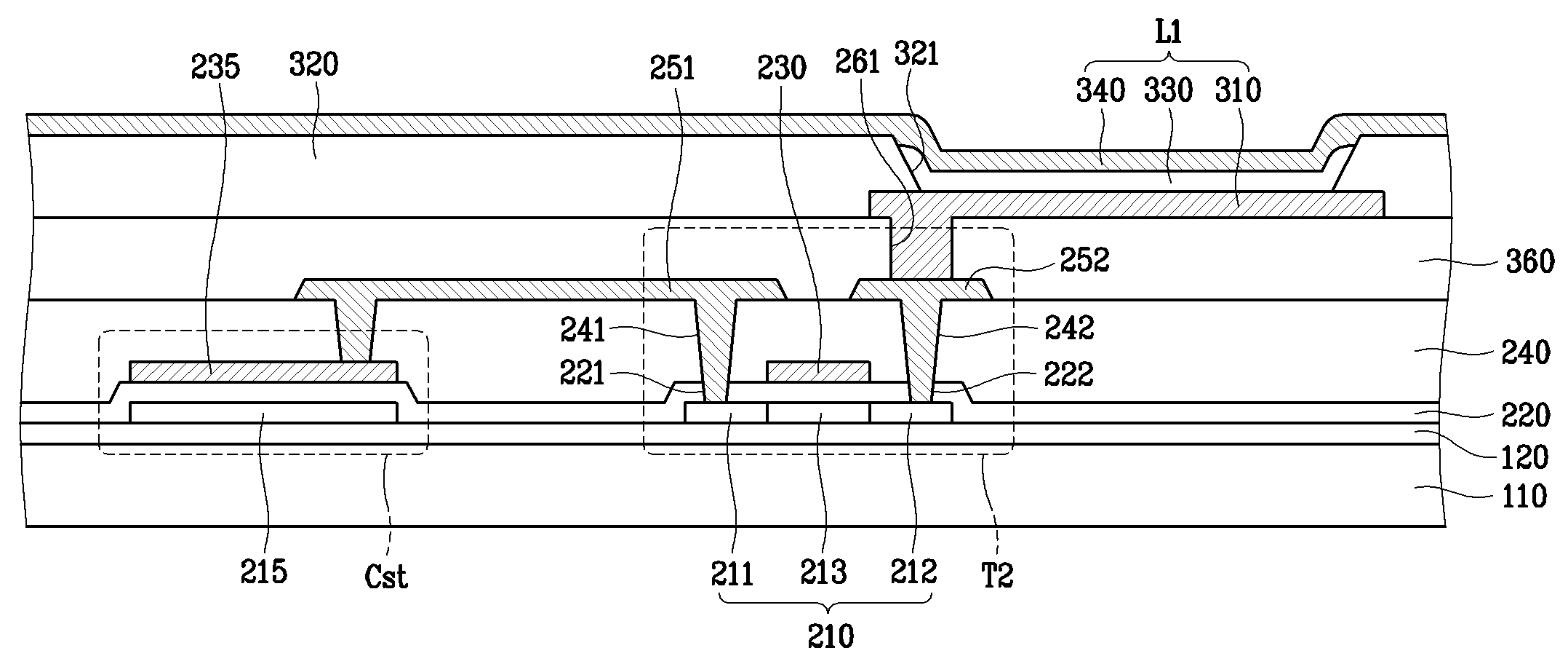
유기 발광 표시 장치 및 그 제조 방법
授权日
1900-01-01
公开(公告)号
KR1020070115355A
申请日
2006-06-02
公开(公告)日
2007-12-06
当前申请(专利权)人
삼성에스디아이 주식회사
发明人
황의훈 | 최웅식
简单同族
CN101083261A | JP2007323044A | KR100796654B1 | KR1020070115355A | US20070278480A1
简单同族成员数量
5
简单同族被引用专利总数
61
诉讼案件数
0
法律状态/事件
放弃 | 权利转移
抱歉,您的浏览器不支持PDF预览,请点击链接下载PDF文件