专利数据库
统计分析
产业报告
专利数据监控
产业人才
行业动态
产业政策法规
维权援助
个人中心
详情
文本
图像
标题
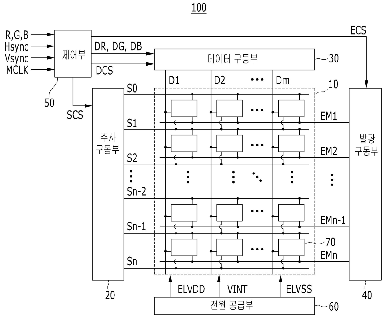
발명의 명칭 화소, 이를 이용한 표시 장치, 및 그의 구동 방법
授权日
1900-01-01
公开(公告)号
KR1020120065137A
申请日
2010-12-10
公开(公告)日
2012-06-20
当前申请(专利权)人
삼성디스플레이 주식회사
发明人
JEONG, JIN TAE
简单同族
CN102568374A | CN102568374B | EP2463849A1 | EP2463849B1 | JP2012128386A | KR1020120065137A | US20120147060A1 | US8994619
简单同族成员数量
8
简单同族被引用专利总数
112
诉讼案件数
0
法律状态/事件
驳回
抱歉,您的浏览器不支持PDF预览,请点击链接下载PDF文件