专利数据库
统计分析
产业报告
专利数据监控
产业人才
行业动态
产业政策法规
维权援助
个人中心
详情
文本
图像
标题
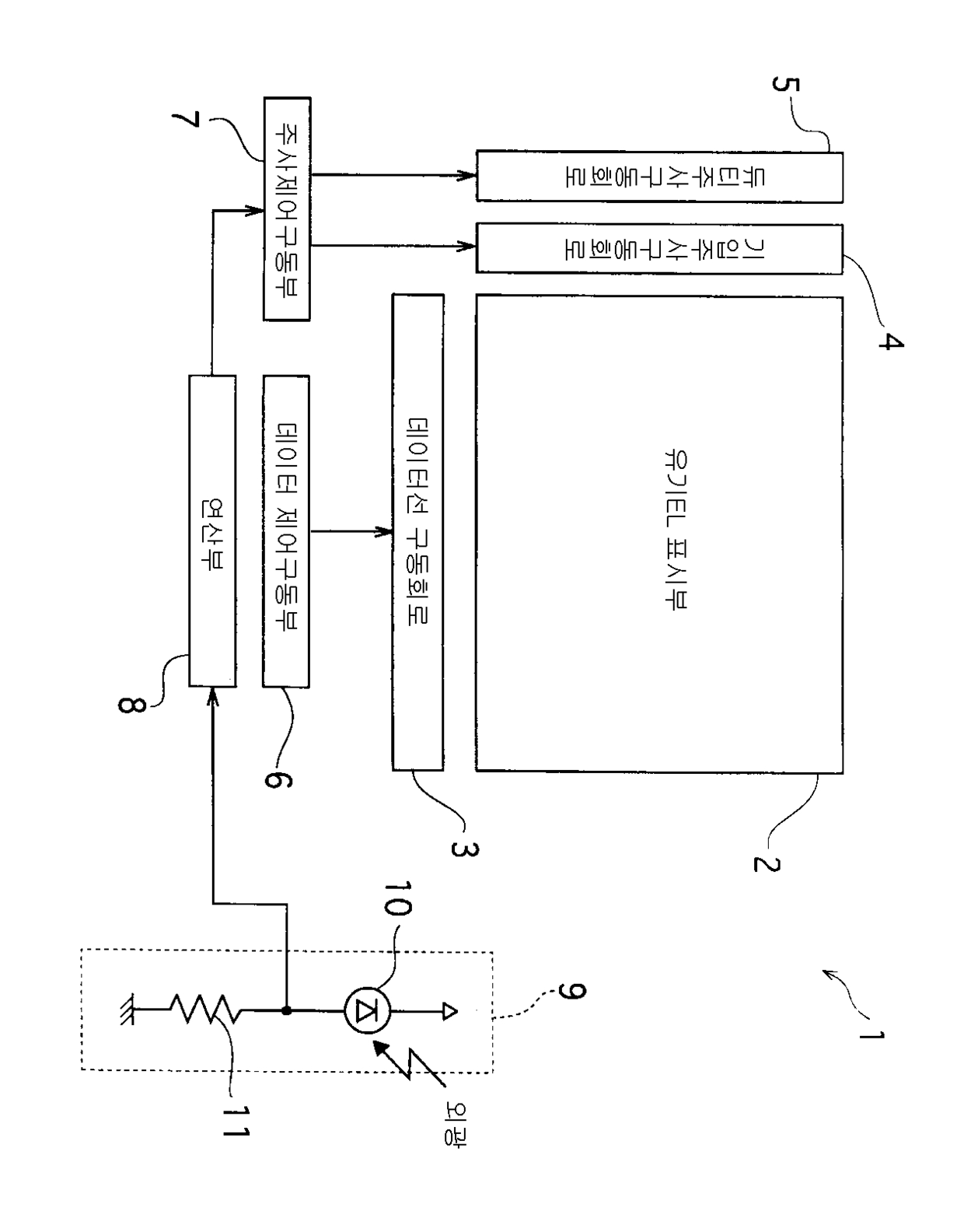
액티브 매트릭스형 표시장치 및 그 구동방법
授权日
1900-01-01
公开(公告)号
KR1020060046635A
申请日
2005-04-08
公开(公告)日
2006-05-17
当前申请(专利权)人
소니 주식회사
发明人
KAWASE,KIMITAKA
简单同族
CN100399395C | CN1691112A | EP1589518A2 | EP1589518A3 | JP2005308857A | KR1020060046635A | TW200625241A | US20050253835A1
简单同族成员数量
8
简单同族被引用专利总数
85
诉讼案件数
0
法律状态/事件
撤回
抱歉,您的浏览器不支持PDF预览,请点击链接下载PDF文件