专利数据库
统计分析
产业报告
专利数据监控
产业人才
行业动态
产业政策法规
维权援助
个人中心
详情
文本
图像
标题
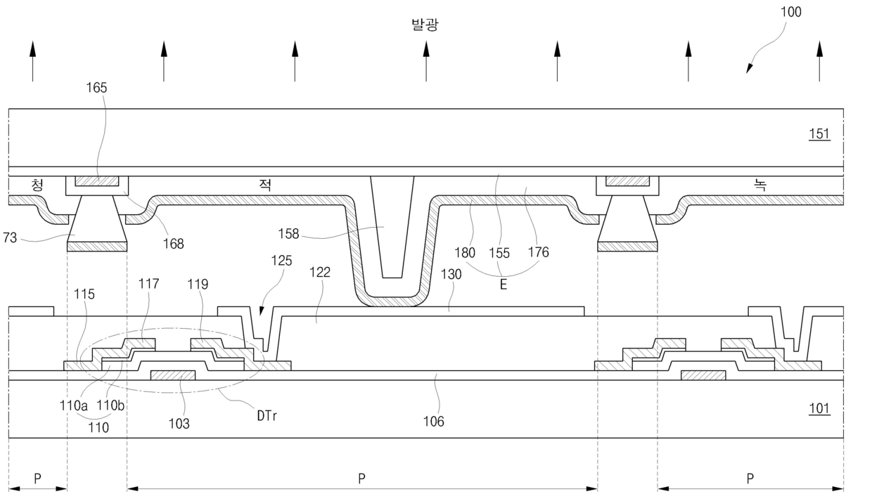
적색 인광 물질 및 이를 이용한 유기전계발광소자
授权日
1900-01-01
公开(公告)号
KR1020100047589A
申请日
2008-10-29
公开(公告)日
2010-05-10
当前申请(专利权)人
엘지디스플레이 주식회사
发明人
김중근 | 김도한 | 박춘건 | 빈종관 | 차순욱 | 이승재
简单同族
CN101724393A | CN101724393B | KR101348699B1 | KR1020100047589A | TW201020311A | TWI435926B | US20100102716A1 | US8999476
简单同族成员数量
8
简单同族被引用专利总数
130
诉讼案件数
0
法律状态/事件
授权
抱歉,您的浏览器不支持PDF预览,请点击链接下载PDF文件