专利数据库
统计分析
产业报告
专利数据监控
产业人才
行业动态
产业政策法规
维权援助
个人中心
详情
文本
图像
标题
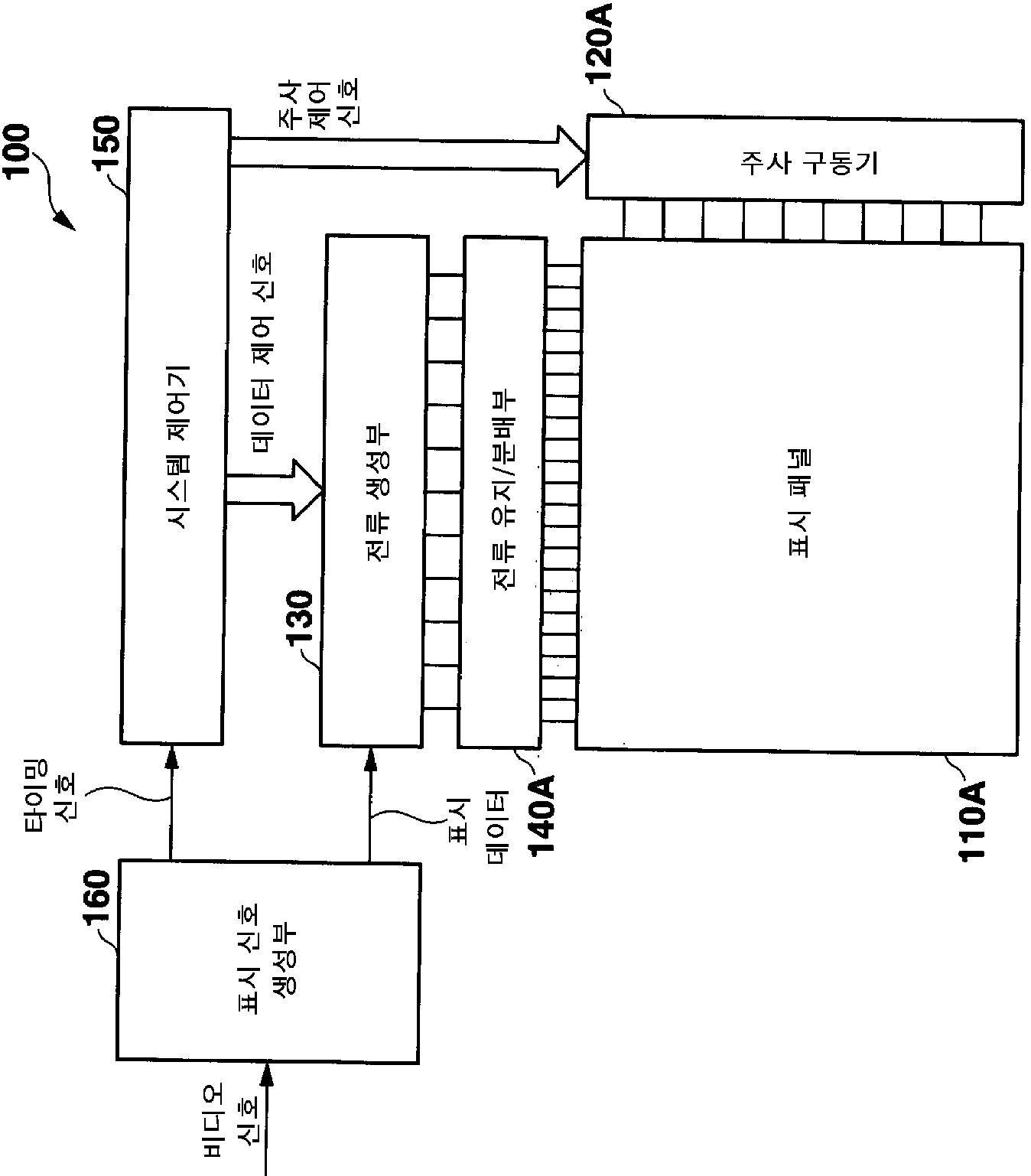
핑퐁 전류 구동 회로 및 라인의 동시 주사를 가진 OLED표시 장치
授权日
1900-01-01
公开(公告)号
KR1020060041252A
申请日
2005-05-26
公开(公告)日
2006-05-11
当前申请(专利权)人
가시오게산키 가부시키가이샤
发明人
시라사키도모유키 | 오자키츠요시 | 오구라준
简单同族
EP1649442A1 | EP1649442B1 | HK1096482A1 | KR1020060041252A | TW200603034A | TWI316216B | US20050264500A1 | US7944414 | WO2005116968A1
简单同族成员数量
9
简单同族被引用专利总数
81
诉讼案件数
0
法律状态/事件
驳回 | 复审
抱歉,您的浏览器不支持PDF预览,请点击链接下载PDF文件