专利数据库
统计分析
产业报告
专利数据监控
产业人才
行业动态
产业政策法规
维权援助
个人中心
详情
文本
图像
标题
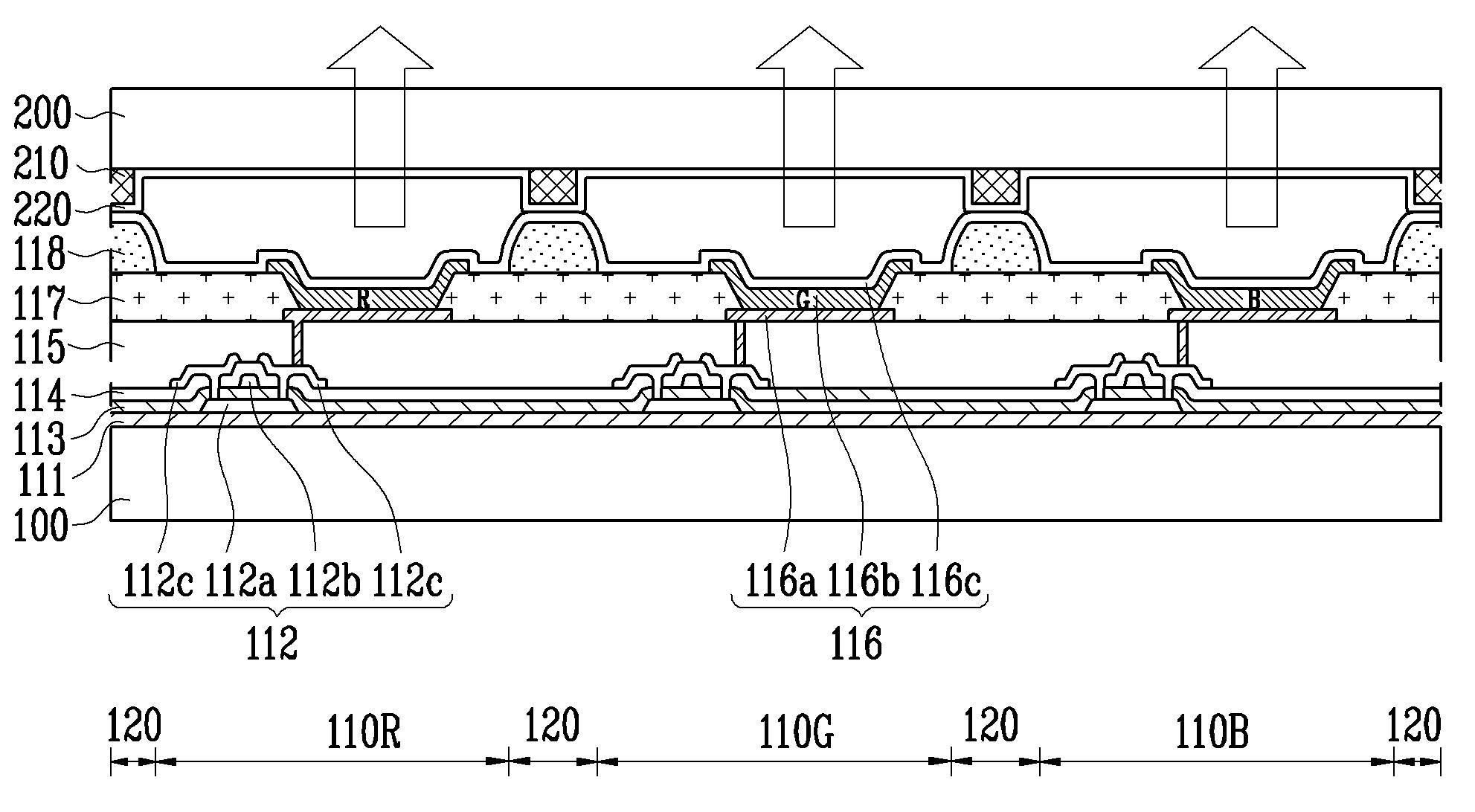
유기전계발광 표시장치
授权日
1900-01-01
公开(公告)号
KR1020100042799A
申请日
2008-10-17
公开(公告)日
2010-04-27
当前申请(专利权)人
삼성모바일디스플레이주식회사
发明人
곽원규
简单同族
CN101728419A | EP2178124A1 | JP2010097925A | JP4990318B2 | KR100963074B1 | KR1020100042799A | US20100097295A1 | US8354980
简单同族成员数量
8
简单同族被引用专利总数
140
诉讼案件数
0
法律状态/事件
授权 | 权利转移
抱歉,您的浏览器不支持PDF预览,请点击链接下载PDF文件