专利数据库
统计分析
产业报告
专利数据监控
产业人才
行业动态
产业政策法规
维权援助
个人中心
详情
文本
图像
标题
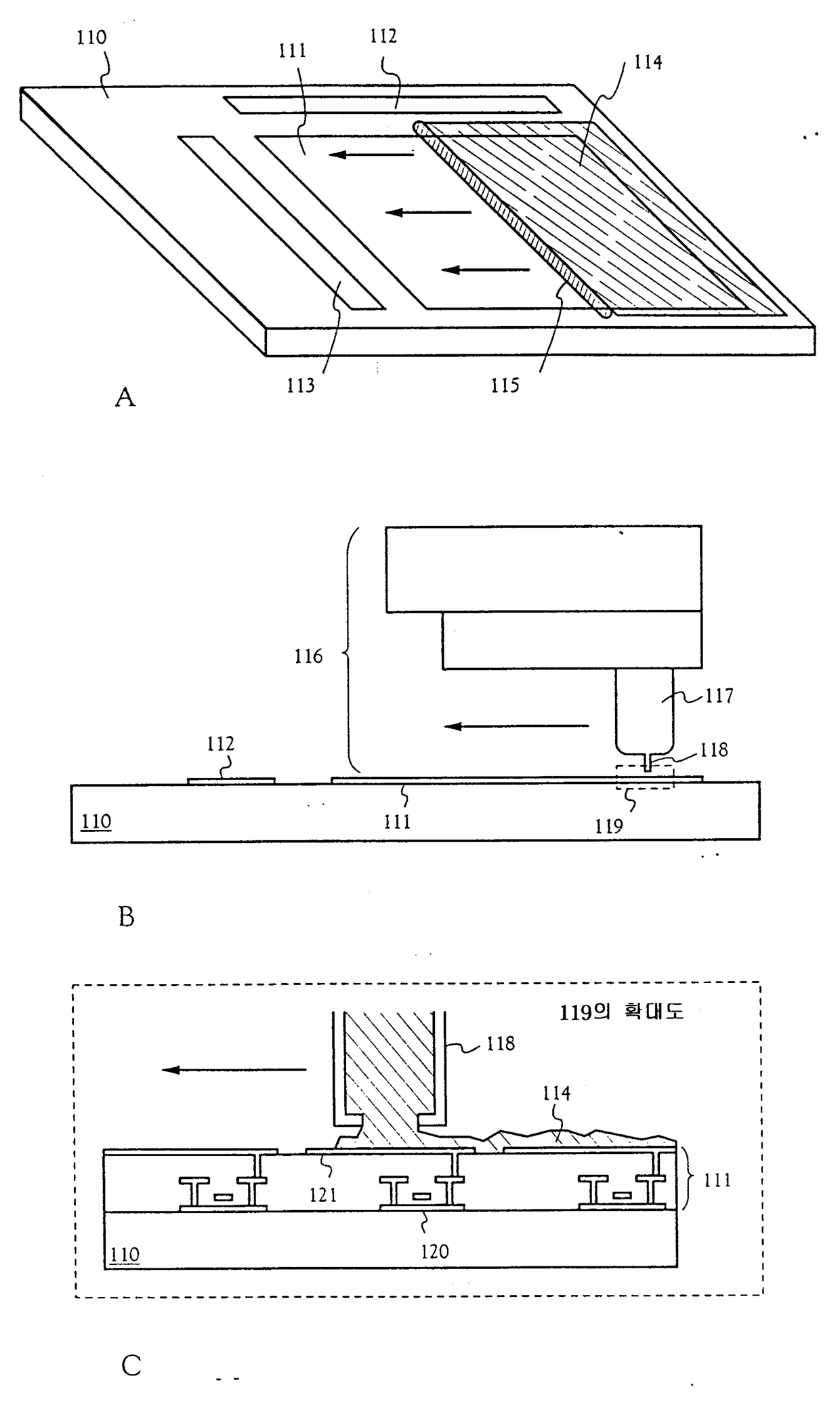
발광 표시장치 제작방법
授权日
2007-04-24
公开(公告)号
KR100713028B1
申请日
2005-06-08
公开(公告)日
2007-05-02
当前申请(专利权)人
가부시키가이샤 한도오따이 에네루기 켄큐쇼
发明人
야마자키순페이 | 미즈카미마유미 | 고누마도시미츠
简单同族
CN100539239C | CN1197165C | CN1279514A | CN1652648A | DE60034401D1 | DE60034401T2 | EP1065724A2 | EP1065724A3 | EP1065724B1 | KR100713019B1 | KR100713028B1 | KR1020010029843A | KR1020050069956A | TW512543B | US20020197394A1 | US6440877 | US6872672
简单同族成员数量
17
简单同族被引用专利总数
154
诉讼案件数
0
法律状态/事件
未缴年费
抱歉,您的浏览器不支持PDF预览,请点击链接下载PDF文件