专利数据库
统计分析
产业报告
专利数据监控
产业人才
行业动态
产业政策法规
维权援助
个人中心
详情
文本
图像
标题
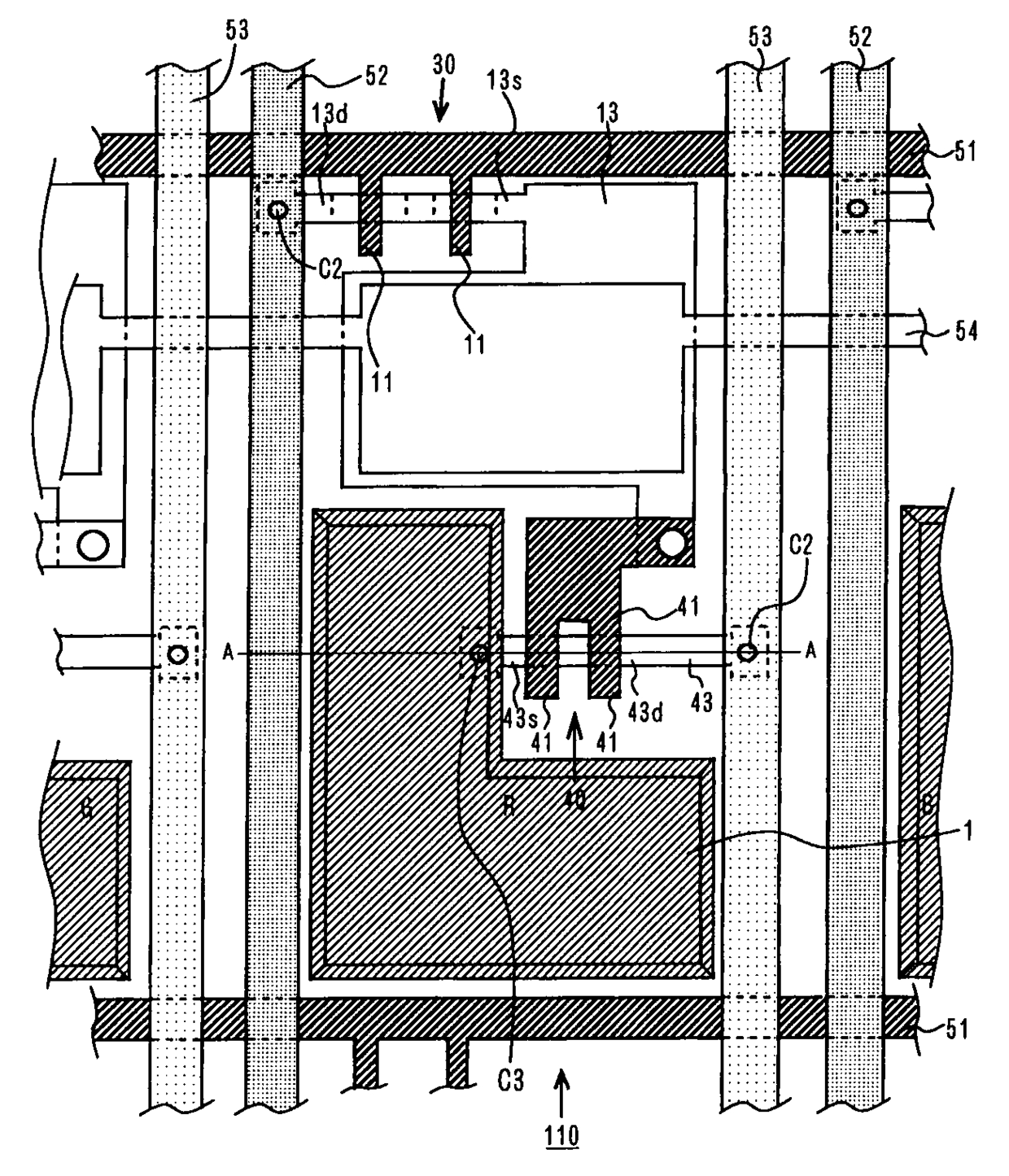
일렉트로 루미네센스 표시 장치
授权日
1900-01-01
公开(公告)号
KR1020010050817A
申请日
2000-10-04
公开(公告)日
2001-06-25
当前申请(专利权)人
산요덴키가부시키가이샤
发明人
스즈끼고우지 | 야마다쯔또무
简单同族
JP2001110575A | KR100513609B1 | KR1020010050817A | US20040155575A1 | US6727871 | US7173583
简单同族成员数量
6
简单同族被引用专利总数
59
诉讼案件数
0
法律状态/事件
授权 | 复审 | 异议
抱歉,您的浏览器不支持PDF预览,请点击链接下载PDF文件