专利数据库
统计分析
产业报告
专利数据监控
产业人才
行业动态
产业政策法规
维权援助
个人中心
详情
文本
图像
标题
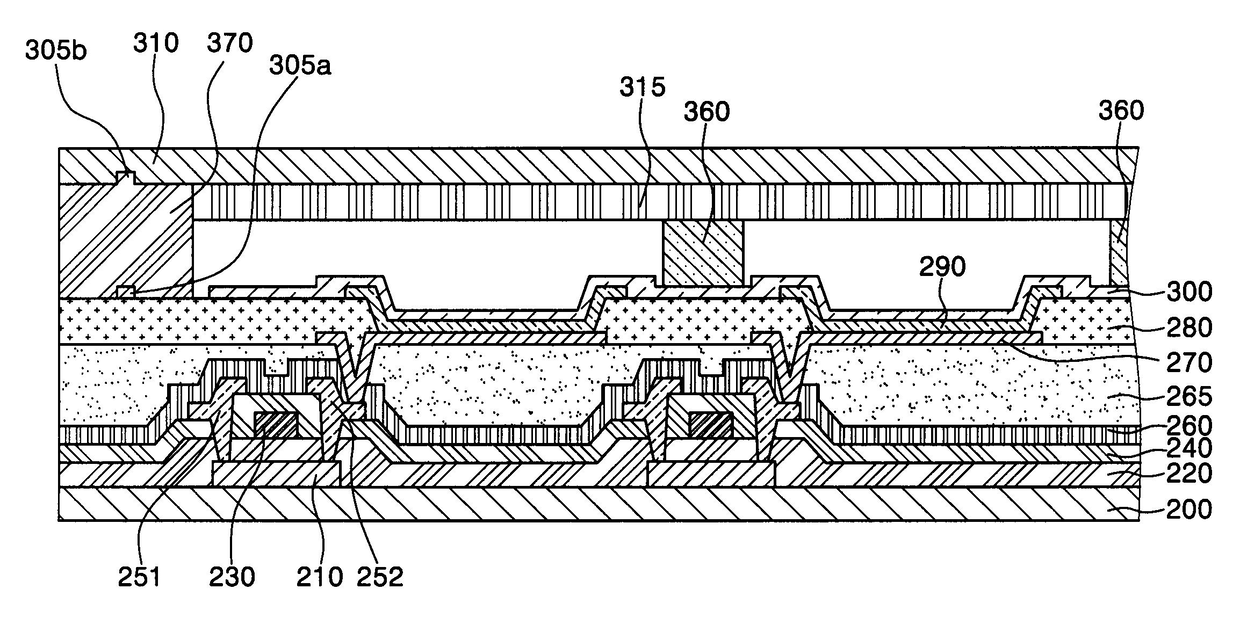
유기전계발광표시장치 및 그 제조방법
授权日
1900-01-01
公开(公告)号
KR1020080057584A
申请日
2006-12-20
公开(公告)日
2008-06-25
当前申请(专利权)人
삼성에스디아이 주식회사
发明人
KANG TAE WOOK
简单同族
KR1020080057584A | US20080150419A1 | US7893614
简单同族成员数量
3
简单同族被引用专利总数
70
诉讼案件数
0
法律状态/事件
驳回 | 复审
抱歉,您的浏览器不支持PDF预览,请点击链接下载PDF文件