专利数据库
统计分析
产业报告
专利数据监控
产业人才
行业动态
产业政策法规
维权援助
个人中心
详情
文本
图像
标题
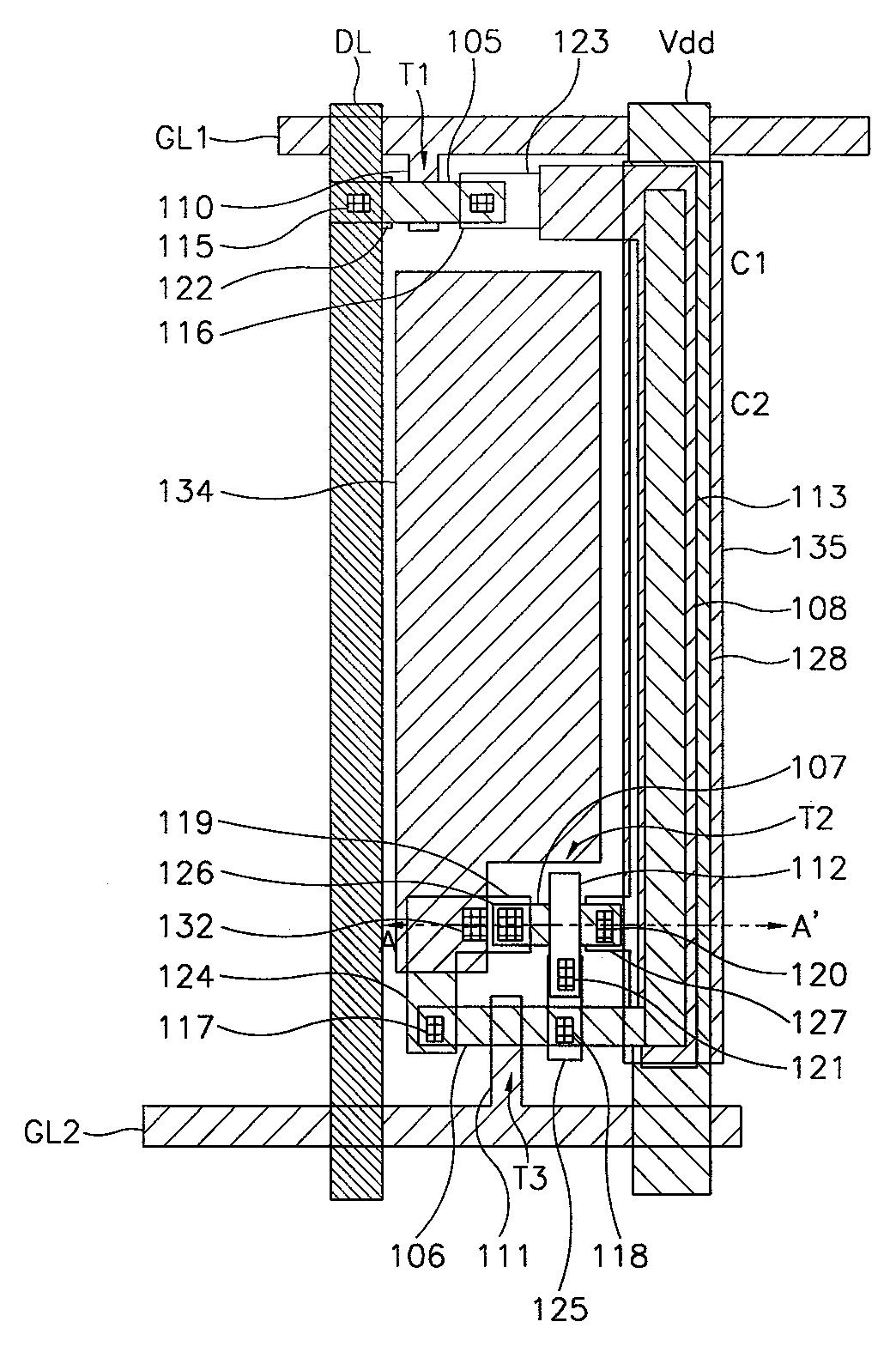
액티브 매트릭스형 유기전계발광 표시장치 및 그 제조방법
授权日
1900-01-01
公开(公告)号
KR1020030069668A
申请日
2002-02-22
公开(公告)日
2003-08-27
当前申请(专利权)人
삼성전자주식회사
发明人
최범락 | 최준후 | 채종철
简单同族
AU2002367689A1 | AU2002367689A8 | CN100382132C | CN1636235A | DE10297655B4 | DE10297655T5 | JP2005518557A | JP3999205B2 | KR100892945B1 | KR1020030069668A | US20050104814A1 | US20090009094A1 | US7435992 | US7875889 | WO2003071511A2 | WO2003071511A3
简单同族成员数量
16
简单同族被引用专利总数
172
诉讼案件数
0
法律状态/事件
授权 | 权利转移
抱歉,您的浏览器不支持PDF预览,请点击链接下载PDF文件