专利数据库
统计分析
产业报告
专利数据监控
产业人才
行业动态
产业政策法规
维权援助
个人中心
详情
文本
图像
标题
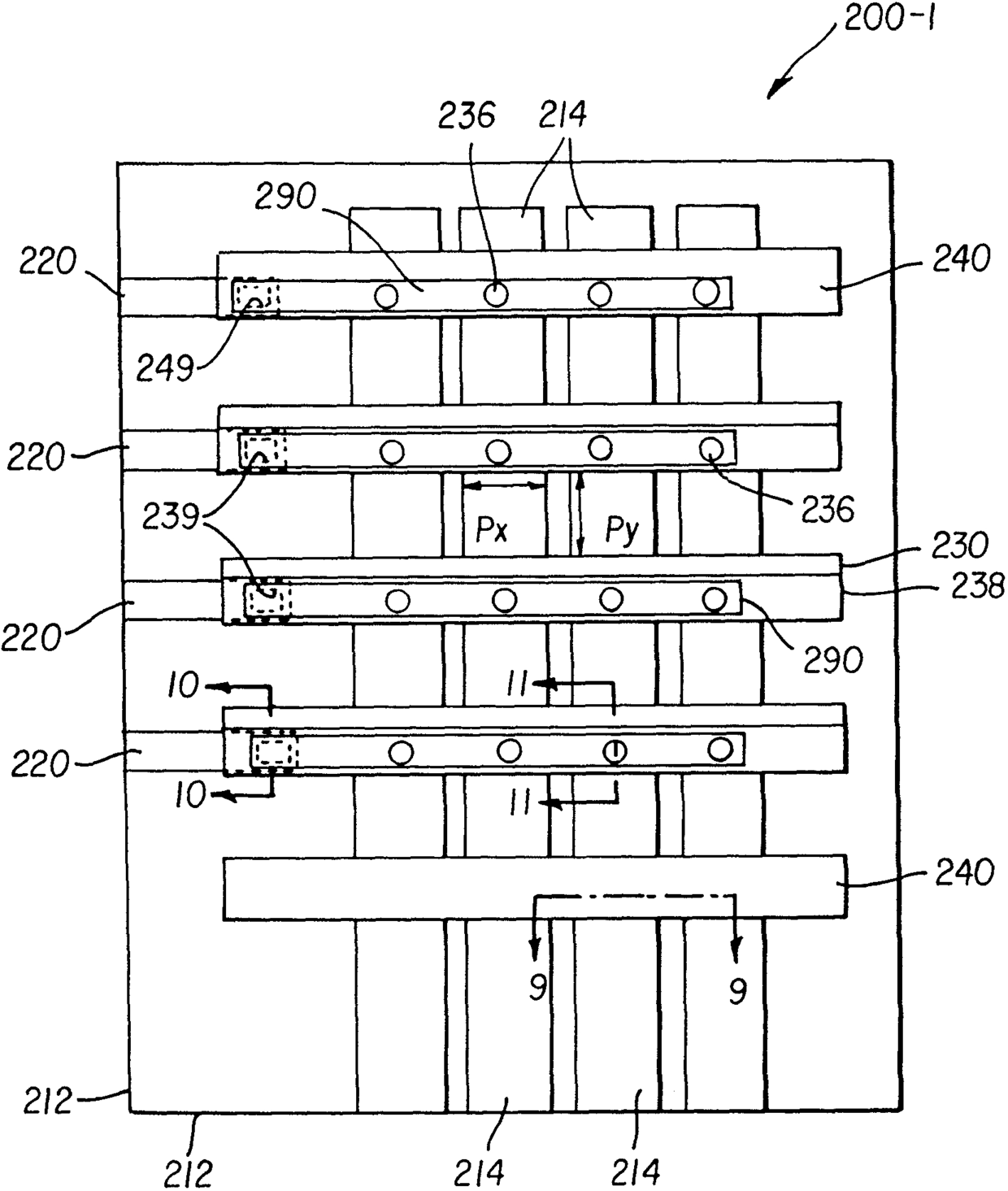
수동 매트릭스 픽셀화 유기 전자발광 장치 제조 방법 및반전 수동 매트릭스 픽셀화 유기 전자발광 장치 제
授权日
2008-01-18
公开(公告)号
KR100798175B1
申请日
2001-09-21
公开(公告)日
2008-01-24
当前申请(专利权)人
이스트맨 코닥 캄파니
发明人
VANSLYKE,STEVENA.
简单同族
CN1184858C | CN1347266A | DE60129514D1 | DE60129514T2 | EP1191593A2 | EP1191593A3 | EP1191593B1 | JP2002117975A | KR100798175B1 | KR1020020023653A | TW521535B | US6626721
简单同族成员数量
12
简单同族被引用专利总数
48
诉讼案件数
0
法律状态/事件
授权 | 权利转移
抱歉,您的浏览器不支持PDF预览,请点击链接下载PDF文件