专利数据库
统计分析
产业报告
专利数据监控
产业人才
行业动态
产业政策法规
维权援助
个人中心
详情
文本
图像
标题
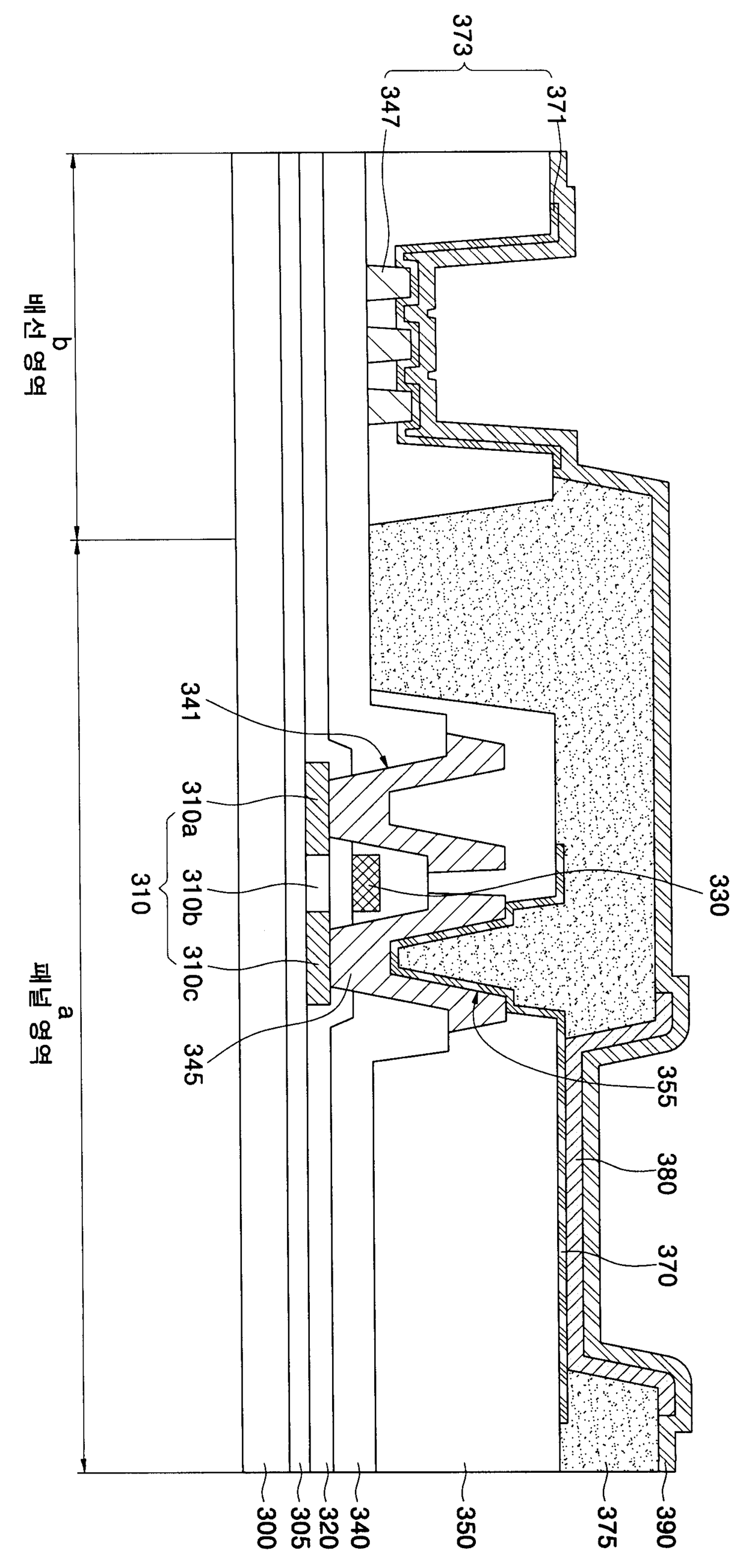
보조 전극 라인을 구비하는 유기전계발광소자 및 그의제조 방법
授权日
2007-03-21
公开(公告)号
KR100700643B1
申请日
2004-11-29
公开(公告)日
2007-03-27
当前申请(专利权)人
삼성에스디아이 주식회사
发明人
OH,SANGHUN
简单同族
CN100578806C | CN1825614A | JP2006156374A | JP4732140B2 | KR100700643B1 | KR1020060059722A | US20060113900A1 | US7701132
简单同族成员数量
8
简单同族被引用专利总数
156
诉讼案件数
0
法律状态/事件
授权 | 权利转移
抱歉,您的浏览器不支持PDF预览,请点击链接下载PDF文件