专利数据库
统计分析
产业报告
专利数据监控
产业人才
行业动态
产业政策法规
维权援助
个人中心
详情
文本
图像
标题
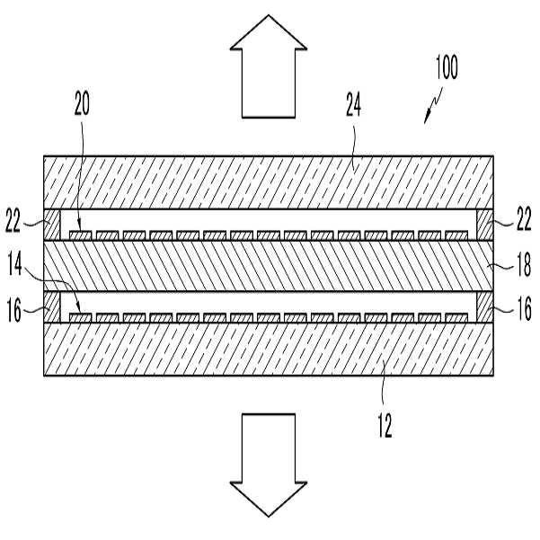
양면 발광형 유기발광 표시장치
授权日
2010-03-17
公开(公告)号
KR100949339B1
申请日
2008-05-06
公开(公告)日
2010-03-26
当前申请(专利权)人
삼성모바일디스플레이주식회사
发明人
KIM, EUN AH
简单同族
KR100949339B1 | KR1020090116101A | US20090278452A1
简单同族成员数量
3
简单同族被引用专利总数
50
诉讼案件数
0
法律状态/事件
授权 | 权利转移
抱歉,您的浏览器不支持PDF预览,请点击链接下载PDF文件