专利数据库
统计分析
产业报告
专利数据监控
产业人才
行业动态
产业政策法规
维权援助
个人中心
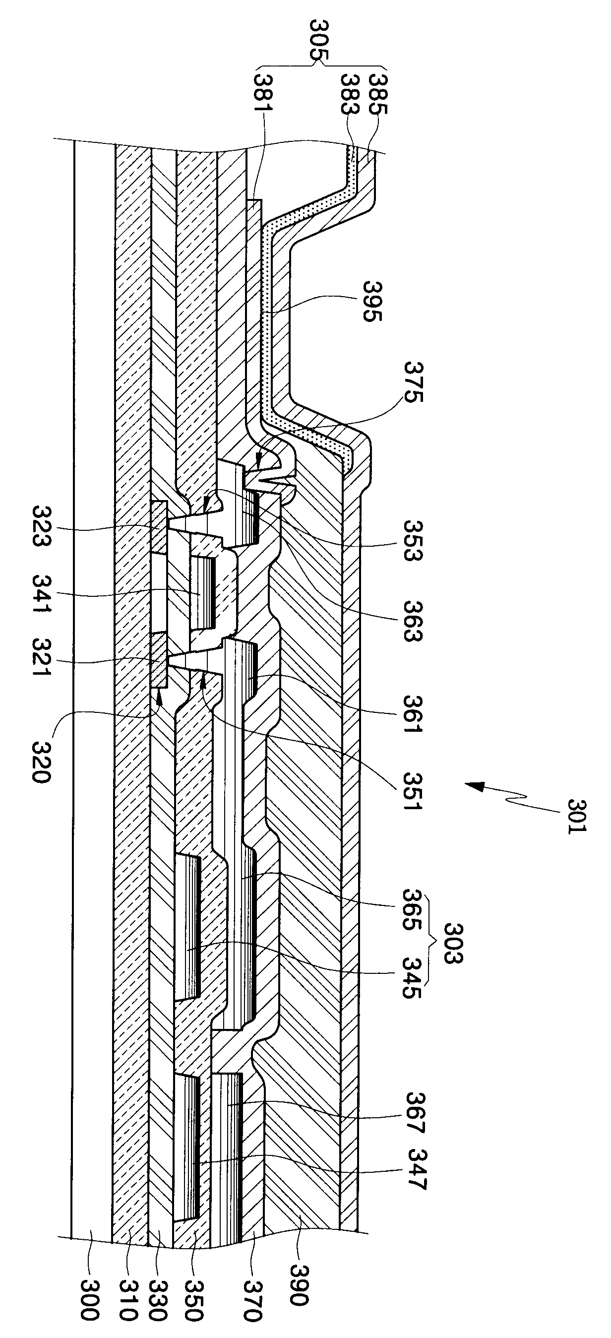
详情
文本
图像
标题
유기전계 발광표시장치
授权日
1900-01-01
公开(公告)号
KR1020050012958A
申请日
2003-07-25
公开(公告)日
2005-02-02
当前申请(专利权)人
삼성에스디아이 주식회사
发明人
구재본 | 박지용
简单同族
CN1578569A | CN1578569B | KR100527195B1 | KR1020050012958A | US20050017247A1 | US7498605
简单同族成员数量
6
简单同族被引用专利总数
54
诉讼案件数
0
法律状态/事件
授权 | 权利转移
抱歉,您的浏览器不支持PDF预览,请点击链接下载PDF文件