专利数据库
统计分析
产业报告
专利数据监控
产业人才
行业动态
产业政策法规
维权援助
个人中心
详情
文本
图像
标题
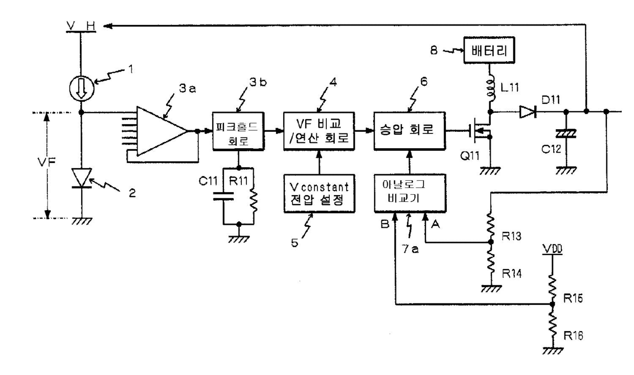
자기발광형 표시 장치
授权日
1900-01-01
公开(公告)号
KR1020050031411A
申请日
2004-09-24
公开(公告)日
2005-04-06
当前申请(专利权)人
도호꾸 파이오니어 가부시끼가이샤
发明人
하야후지아끼노리 | 가나우찌가쯔히로
简单同族
CN100405438C | CN1604165A | JP2005107003A | JP4836402B2 | KR101082211B1 | KR1020050031411A | TW200512703A | TWI354258B | US20050078065A1 | US20090244051A1 | US7557802 | US8125479
简单同族成员数量
12
简单同族被引用专利总数
67
诉讼案件数
0
法律状态/事件
授权
抱歉,您的浏览器不支持PDF预览,请点击链接下载PDF文件