专利数据库
统计分析
产业报告
专利数据监控
产业人才
行业动态
产业政策法规
维权援助
个人中心
详情
文本
图像
标题
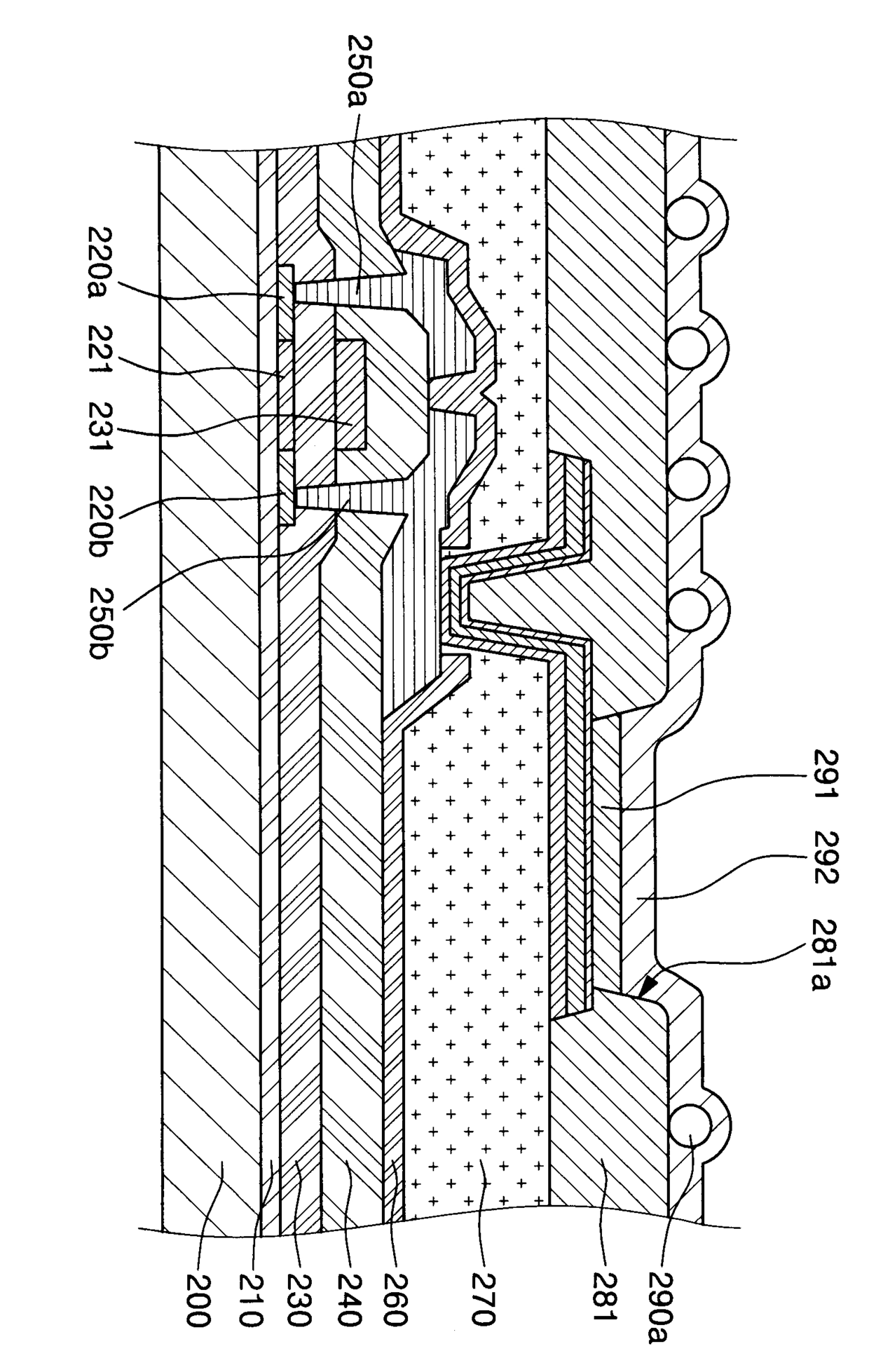
유기전계발광표시장치 및 그의 제조방법
授权日
2008-01-15
公开(公告)号
KR100796618B1
申请日
2007-01-04
公开(公告)日
2008-01-22
当前申请(专利权)人
삼성에스디아이 주식회사
发明人
KWON JUNG HYUN
简单同族
CN101217185A | CN101217185B | EP1942526A2 | EP1942526A3 | JP2008166258A | JP5026221B2 | KR100796618B1 | TW200830547A | TWI371855B | US20080180024A1 | US7834547
简单同族成员数量
11
简单同族被引用专利总数
46
诉讼案件数
0
法律状态/事件
未缴年费 | 权利转移
抱歉,您的浏览器不支持PDF预览,请点击链接下载PDF文件