专利数据库
统计分析
产业报告
专利数据监控
产业人才
行业动态
产业政策法规
维权援助
个人中心
详情
文本
图像
标题
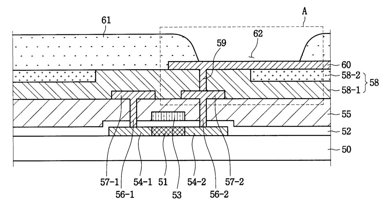
박막트랜지스터 및 그의 제조방법
授权日
1900-01-01
公开(公告)号
KR1020050050495A
申请日
2003-11-25
公开(公告)日
2005-05-31
当前申请(专利权)人
삼성에스디아이 주식회사
发明人
임충열 | 강태욱 | 정창용
简单同族
CN1652350A | CN1652350B | EP1548835A1 | JP2005159284A | JP4339756B2 | KR100611148B1 | KR1020050050495A | US20050110011A1 | US20070148833A1 | US7205565 | US7598111
简单同族成员数量
11
简单同族被引用专利总数
48
诉讼案件数
0
法律状态/事件
授权 | 权利转移
抱歉,您的浏览器不支持PDF预览,请点击链接下载PDF文件