专利数据库
统计分析
产业报告
专利数据监控
产业人才
行业动态
产业政策法规
维权援助
个人中心
详情
文本
图像
标题
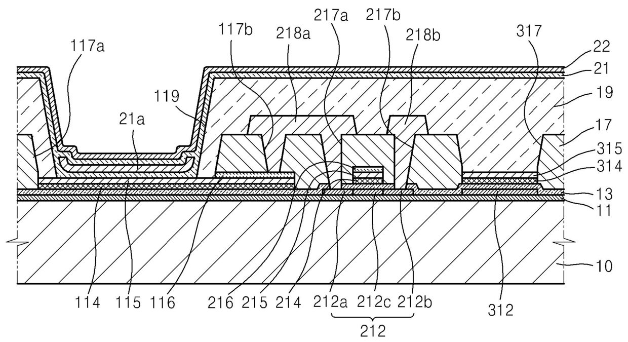
유기 발광 디스플레이 장치 및 그 제조 방법
授权日
1900-01-01
公开(公告)号
KR1020110126379A
申请日
2010-05-17
公开(公告)日
2011-11-23
当前申请(专利权)人
삼성디스플레이 주식회사
发明人
노대현 | 최종현 | 김건식 | 이준우
简单同族
DE102011005528A1 | DE102011005528B4 | JP2011242745A | JP5653782B2 | KR101692954B1 | KR1020110126379A | US20110278615A1 | US20130065338A1 | US8354669 | US9029900
简单同族成员数量
10
简单同族被引用专利总数
47
诉讼案件数
0
法律状态/事件
授权
抱歉,您的浏览器不支持PDF预览,请点击链接下载PDF文件