专利数据库
统计分析
产业报告
专利数据监控
产业人才
行业动态
产业政策法规
维权援助
个人中心
详情
文本
图像
标题
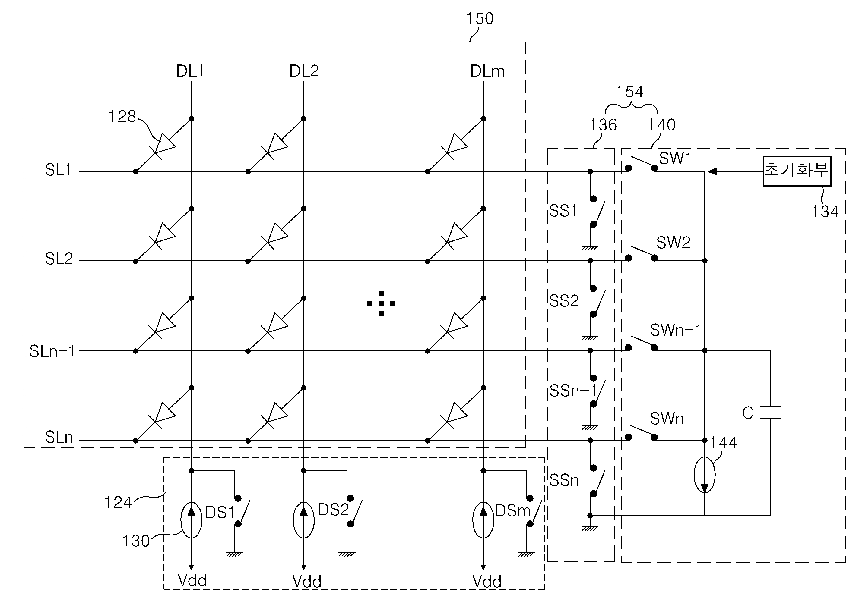
일렉트로-루미네센스 표시장치 및 그 구동 방법
授权日
1900-01-01
公开(公告)号
KR1020050112356A
申请日
2004-05-25
公开(公告)日
2005-11-30
当前申请(专利权)人
엘지전자 주식회사
发明人
김학수 | 이재도
简单同族
KR100774873B1 | KR1020050112356A
简单同族成员数量
2
简单同族被引用专利总数
0
诉讼案件数
0
法律状态/事件
放弃
抱歉,您的浏览器不支持PDF预览,请点击链接下载PDF文件