专利数据库
统计分析
产业报告
专利数据监控
产业人才
行业动态
产业政策法规
维权援助
个人中心
详情
文本
图像
标题
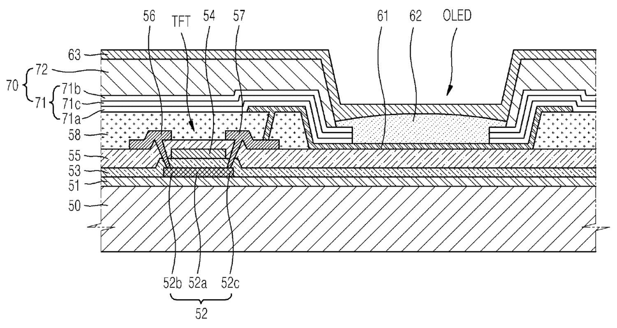
을 덮도록 층간 절연막(55)이 형성되며, 층간 절연막(55)의 상부에 소스/드레인 전극(56)(57)이 형성된
授权日
2011-11-10
公开(公告)号
KR101084191B1
申请日
2010-02-16
公开(公告)日
2011-11-17
当前申请(专利权)人
삼성모바일디스플레이주식회사
发明人
김영일 | 노태용 | 이동원 | 이원필
简单同族
JP2011171300A | KR101084191B1 | KR1020110094458A | US20110198598A1
简单同族成员数量
4
简单同族被引用专利总数
67
诉讼案件数
0
法律状态/事件
授权 | 权利转移
抱歉,您的浏览器不支持PDF预览,请点击链接下载PDF文件