专利数据库
统计分析
产业报告
专利数据监控
产业人才
行业动态
产业政策法规
维权援助
个人中心
详情
文本
图像
标题
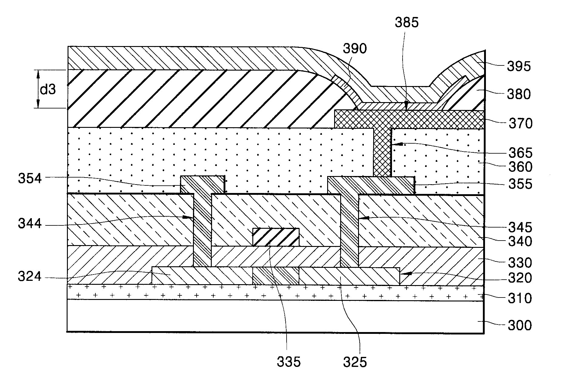
풀칼라 유기전계 발광표시소자 및 그의 제조방법
授权日
1900-01-01
公开(公告)号
KR1020030042937A
申请日
2001-11-26
公开(公告)日
2003-06-02
当前申请(专利权)人
삼성에스디아이 주식회사
发明人
이준엽 | 강태민 | 권장혁 | 이성택 | 정준효 | 김응진
简单同族
CN1279794C | CN1423513A | EP1315209A2 | EP1315209A3 | JP2003168569A | JP2007280963A | JP4071606B2 | KR100656490B1 | KR1020030042937A | US20030098645A1 | US20050100661A1 | US20050156518A1 | US20050264192A1 | US7009339 | US7696689 | US7705534 | US8142839
简单同族成员数量
17
简单同族被引用专利总数
144
诉讼案件数
0
法律状态/事件
授权 | 复审 | 权利转移 | 异议
抱歉,您的浏览器不支持PDF预览,请点击链接下载PDF文件