专利数据库
统计分析
产业报告
专利数据监控
产业人才
行业动态
产业政策法规
维权援助
个人中心
详情
文本
图像
标题
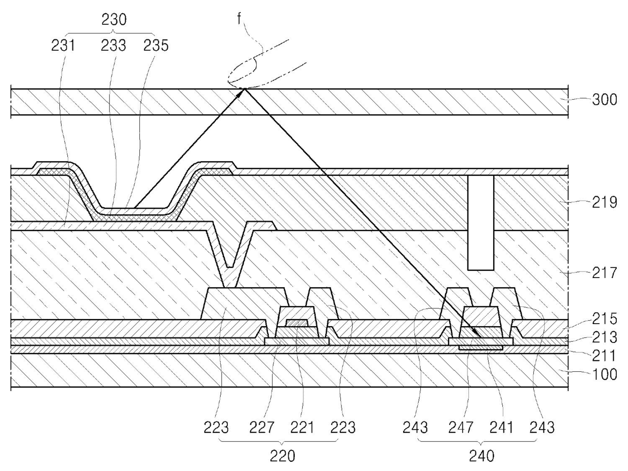
유기 발광 디스플레이 장치
授权日
2010-10-06
公开(公告)号
KR100987381B1
申请日
2008-07-16
公开(公告)日
2010-10-12
当前申请(专利权)人
삼성모바일디스플레이주식회사
发明人
김영대 | 김경보 | 김무진 | 김철수 | 김혜동 | 임기주 | 박용성 | 김건식 | 오준식 | 장형욱 | 김상욱
简单同族
KR100987381B1 | KR1020100008707A | US20100001639A1 | US8283851
简单同族成员数量
4
简单同族被引用专利总数
49
诉讼案件数
0
法律状态/事件
授权 | 权利转移
抱歉,您的浏览器不支持PDF预览,请点击链接下载PDF文件